LEMON Manuals: Even more car manuals for everyone: 1960-2025
Home >> Hummer >> 2009 >> H2 V8-6.2L >> Repair and Diagnosis >> Powertrain Management >> Emission Control Systems >> Diagrams
April 5, 2026: LEMON Manuals is launched! Read the announcement.

Emission Control Systems: Diagrams




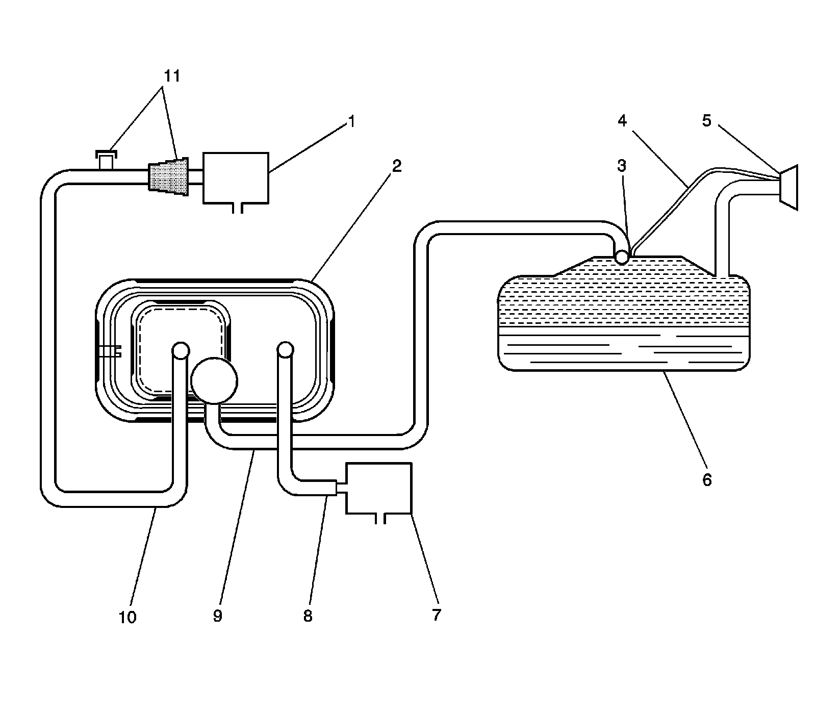
Evaporative Emissions Hose Routing Diagram




1 - EVAP Canister Purge Solenoid Valve
2 - EVAP Canister
3 - Fluid Level Vent Valve
4 - Vapor Recirculation tube
5 - Fuel Fill Neck and Fill Cap
6 - Fuel Tank
7 - EVAP Canister Vent Valve
8 - Vent Hose/Pipe
9 - EVAP Vapor tube
10 - EVAP Purge tube
11 - EVAP Service Port or Service Access Connector