LEMON Manuals: Even more car manuals for everyone: 1960-2025
Home >> Hummer >> 2009 >> H3 Alpha >> Repair and Diagnosis (Single Page) >> Engine Mechanical >> Engine Mechanical - 5.3L >> Specifications >> Thread Repair Specifications >> Engine Block - Left/Right Side Views
April 5, 2026: LEMON Manuals is launched! Read the announcement.

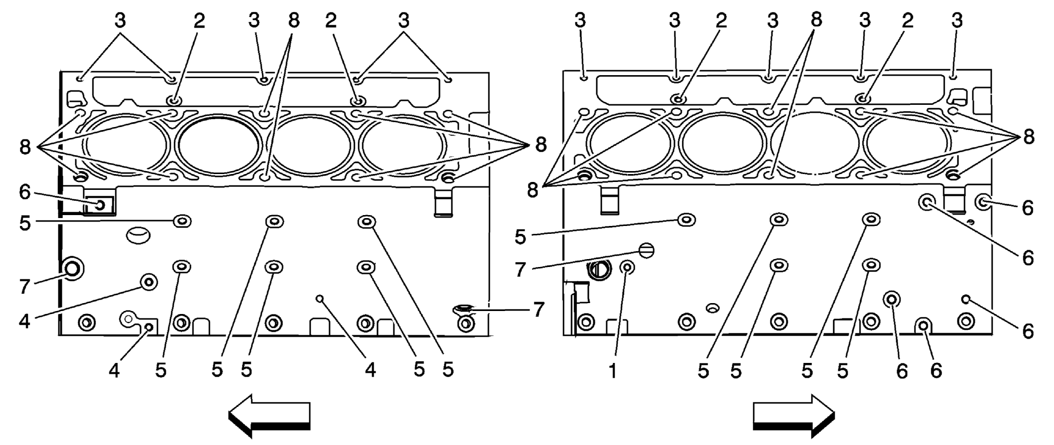
Engine Block - Left/Right Side Views

Fig 1: Engine Block - Left/Right Side Views
GM1402160Courtesy of GENERAL MOTORS CORP.
Engine Block - Left/Right Side Views

Hole Thread Size Insert Drill Counterbore Tool Tap Driver Drill Depth - Maximum mm (in) Tap Depth - Maximum mm (in)
J 42385-
1 M8 x 1.25 210 206 207 208 209 22.5 (0.885) 17.5 (0.688)
2 M6 x 1.0 205 201 202 203 204 22.5 (0.885) 15.0 (0.688)
3 M8 x 1.25 210 206 207 208 209 28.5 (1.122) 23.0 (0.905)
4 M8 x 1.25 210 206 207 208 209 21.5 (0.846) 16.0 (0.629)
5 M10 x 1.25 215 211 212 213 214 29.0 (1.141) 23.0 (0.905)
6 M10 x 1.5 215 211 212 213 214 27.0 (1.062) 21.5 (0.846)
7 M16 x 1.5 N/A N/A N/A N/A N/A N/A N/A
8 M11 x 2.0 108 105 N/A 106 107 69.0 (2.72) 60.0 (2.36)
Bolt hole 8 has a 30 mm (1.18 in) counterbore included in the 69.0 mm (2.72 in) drill depth. Use sleeve J 42385-315 with the drill and tap.