LEMON Manuals: Even more car manuals for everyone: 1960-2025
Home >> Hummer >> 2009 >> H3 L5-3.7L >> Repair and Diagnosis >> Diagrams >> Exploded Views >> Drive/Propeller Shaft
April 5, 2026: LEMON Manuals is launched! Read the announcement.

Drive/Propeller Shaft




Driveline Disassembled Views

Front Drive Propeller Shaft




1 - Universal Joint Spider Assembly
2 - Propeller Shaft Tube Assembly

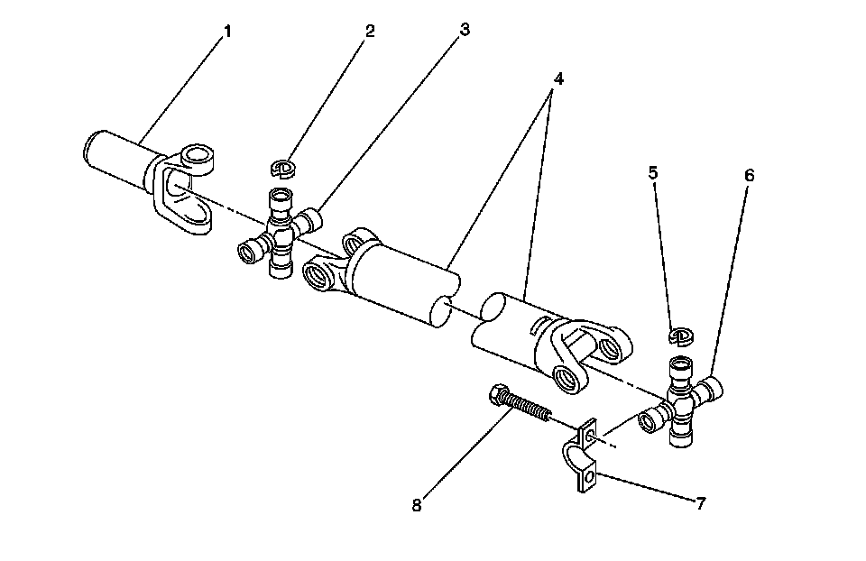
One-Piece Propeller Shaft




1 - Propeller Shaft Slip Yoke
2 - Propeller Shaft Universal Joint Spider Bearing Retainer Ring
3 - Propeller Shaft Universal Joint
4 - Propeller Shaft Tube
5 - Propeller Shaft Universal Joint Spider Bearing Retainer Ring
6 - Propeller Shaft Universal Joint
7 - Propeller Shaft Bearing Retainer
8 - Propeller Shaft Bearing Retainer Bolt

Two-Piece Propeller Shaft




1 - Propeller Shaft Slip Yoke
2 - Propeller Shaft Universal Joint Spider Bearing Retainer Ring
3 - Propeller Shaft Universal Joint and Bearing
4 - Propeller Shaft Tube
5 - Propeller Shaft Center Bearing
6 - Propeller Shaft Yoke
7 - Propeller Shaft Yoke Retaining Nut
8 - Propeller Shaft Universal Joint and Bearing
9 - Propeller Shaft Universal Joint Bearing Retaining Ring
10 - Propeller Shaft Tube
11 - Propeller Shaft Universal Joint and Bearing
12 - Propeller Shaft Universal Joint Bearing Retaining Ring