LEMON Manuals: Even more car manuals for everyone: 1960-2025
Home >> Hummer >> 2010 >> H3T Base, Automatic >> Repair and Diagnosis (Single Page) >> Steering >> Steering Column >> Steering Wheel And Column >> Repair Instructions >> Steering Wheel Position Sensor Centering >> Removal Procedure
April 5, 2026: LEMON Manuals is launched! Read the announcement.

Removal Procedure

    CAUTION: With wheels of the vehicle facing straight ahead, secure the steering wheel utilizing steering column anti-rotation pin, steering column lock, or a strap to prevent rotation. Locking of the steering column will prevent damage and a possible malfunction of the SIR system. The steering wheel must be secured in position before disconnecting the following components:
    • The steering column
    • The intermediate shaft(s)
    • The steering gear

    After disconnecting these components, do not rotate the steering wheel or move the front tires and wheels. Failure to follow this procedure may cause the SIR coil assembly to become un-centered and cause possible damage to the SIR coil. If you think the SIR coil has became un-centered, refer to your specific SIR coil's centering procedure to re-center SIR Coil.
  1. With the wheels of the vehicle in the straight ahead position, secure the steering wheel or the steering column with a steering column anti-rotation pin, a steering column lock, or a strap, as applicable, in order to prevent rotation.
  2. NOTE: Identify the type of steering wheel position sensor from the illustrations shown BEFORE removing the sensor from the steering column. Once you have identified the steering wheel position sensor, follow the instructions listed in the removal procedure.
  3. Verify the type of steering wheel position sensor.
  4. Fig 1: Front Of Sensor Connector
    GM1203774Courtesy of GENERAL MOTORS CORP.
  5. From the technicians point of view of the FRONT of the sensor (1), the connector will be on the right.
  6. NOTE: If you are reusing the existing sensor, you do not have to align the sensor before removal. Centering is not necessary in order to install the old sensor.
  7. Remove the connector from the sensor.
  8. Remove the sensor from the adapter and bearing assembly.
  9. To install the sensor, proceed to step 1 in the installation procedure.
  10. Fig 2: Steering Wheel Position Sensor Foam Ring, Pin Hole & Rotor Flange Cuff
    GM1203779Courtesy of GENERAL MOTORS CORP.
  11. From the technicians point of view, the FRONT of the sensor will have:
    • A foam ring (2)
    • A pin hole (1) for the centering the pin-Note the location of the pin hole.
    • A flush rotor flange cuff (4)
  12. NOTE: If you are reusing the existing sensor, make an alignment mark (3) on the rotor flange cuff before removing the sensor. Failure to do so will cause misalignment of the old sensor. Replace a misaligned sensor with a new sensor.
  13. Make an alignment mark on the flush rotor flange cuff.
  14. Remove the connector from the sensor.
  15. Remove the sensor from the adapter and bearing assembly.
  16. To install the sensor, proceed to step 4 in the installation procedure.
  17. Fig 3: Steering Wheel Position Sensor Alignment Mark
    GM1203791Courtesy of GENERAL MOTORS CORP.
  18. From the technicians point of view, the FRONT of the sensor will have:
    • A raised rotor flange cuff (3)
    • An alignment mark (2) on the rotor flange cuff for installation
    • A pin hole (1) for the centering pin-Note the location of the pin hole.
  19. Remove the connector from the sensor.
  20. Remove the sensor from the adapter and bearing assembly.
  21. To install the sensor, proceed to step 8 in the installation procedure.
  22. Fig 4: Steering Wheel Position Sensor Alignment Mark
    GM1203796Courtesy of GENERAL MOTORS CORP.
  23. From the technicians point of view, the FRONT of the sensor will have:
    • A raised rotor flange cuff (3)
    • An alignment mark (2) on the rotor flange cuff for installation
    • A pin hole (1) for the centering pin-Note location of the pin hole.
    • A sensor clip in FRONT of the sensor
  24. Remove the connector from the sensor.
  25. Remove the sensor clip from the sensor.
  26. Remove the sensor from the adapter and bearing assembly.
  27. To install the sensor, proceed to step 12 in the installation procedure.
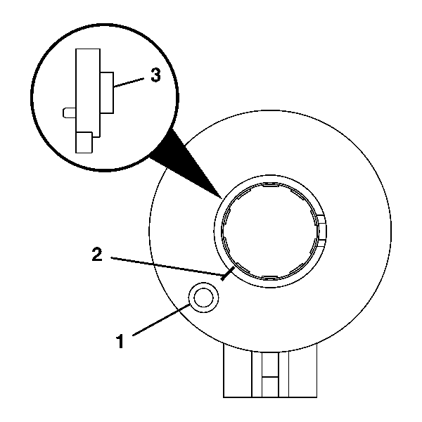
  28. Fig 5: Steering Wheel Position Sensor Rotor Flange Cuff, Centering Pin Hole & Alignment Mark
    GM1203797Courtesy of GENERAL MOTORS CORP.
  29. From the technicians point of view, the FRONT of the sensor will have:
    • A flush rotor flange cuff (3)
    • A pin hole (1) for the centering pin-Note the location of the pin hole.
    • An alignment mark (2) on the flush rotor flange cuff for installation
  30. Remove the connector from the sensor.
  31. Remove the sensor from the adapter and bearing assembly.
  32. To install the sensor, proceed to step 16 in the installation procedure.
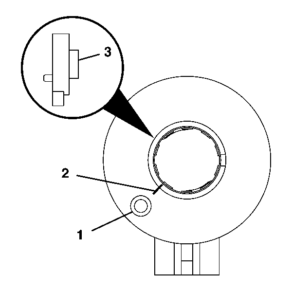
  33. Fig 6: Steering Wheel Position Sensor Rotor Flange Cuff, Centering Pin Hole, Alignment Mark & Foam Ring
    GM1203800Courtesy of GENERAL MOTORS CORP.
  34. From the technicians point of view, the FRONT of the sensor will have:
    • A flush rotor flange cuff (4)
    • A pin hole (2) for the centering pin-Note the location of the pin hole.
    • An alignment mark (3) on the flush rotor flange cuff for installation
    • A foam ring (1)
  35. Remove the connector from the sensor.
  36. Remove the sensor from the adapter and bearing assembly.
  37. To install the sensor, proceed to step 20 in the installation procedure.