LEMON Manuals: Even more car manuals for everyone: 1960-2025
Home >> Hyundai >> 1994 >> Sonata V6-3.0L >> Repair and Diagnosis >> Powertrain Management >> Ignition System >> Ignition Control Module >> Testing and Inspection >> Ignition Coil
April 5, 2026: LEMON Manuals is launched! Read the announcement.

Ignition Coil

CHECKING THE IGNITION COIL




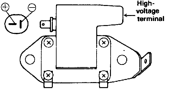
Measurement of the primary coil resistance.
- Measure the resistance between the positive (+) terminal and the negative (-) terminal of the ignition coil.

Standard value: 0.8 ± 0.08 Ohm


Measurement of the secondary coil resistance.
- Measure the resistance between the ignition coil's positive (+) terminal and the high-voltage terminal.

Standard value: 12.1 ± 1.8 kOhm