LEMON Manuals: Even more car manuals for everyone: 1960-2025
Home >> Hyundai >> 1996 >> Elantra L4-1.8L >> Repair and Diagnosis >> Powertrain Management >> Computers and Control Systems >> Relays and Modules - Computers and Control Systems >> Main Relay (Computer/Fuel System) >> Testing and Inspection
April 5, 2026: LEMON Manuals is launched! Read the announcement.

Main Relay (Computer/Fuel System): Testing and Inspection





CIRCUIT DIAGRAM







HARNESS INSPECTION PROCEDURES


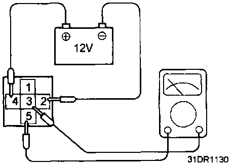
RELAY INSPECTION

1. Check for continuity of relay coil windings between terminal 4 (+) and 2 (-).







2. Check continuity of relay contacts between terminals 5 and 1.







3. Check continuity of relay contacts between terminals 5 and 3.
4. If faulty, replace the MFI control relay.


Tightening torque: MFI control relay 7-11 Nm (5.2-8.1 lb.ft.)