LEMON Manuals: Even more car manuals for everyone: 1960-2025
Home >> Hyundai >> 1999 >> Sonata L4-2.4L >> Repair and Diagnosis >> Wiper and Washer Systems >> Windshield Washer Control Module >> Testing and Inspection
April 5, 2026: LEMON Manuals is launched! Read the announcement.

Windshield Washer Control Module: Testing and Inspection

Central Control Module

Operation Check of Components

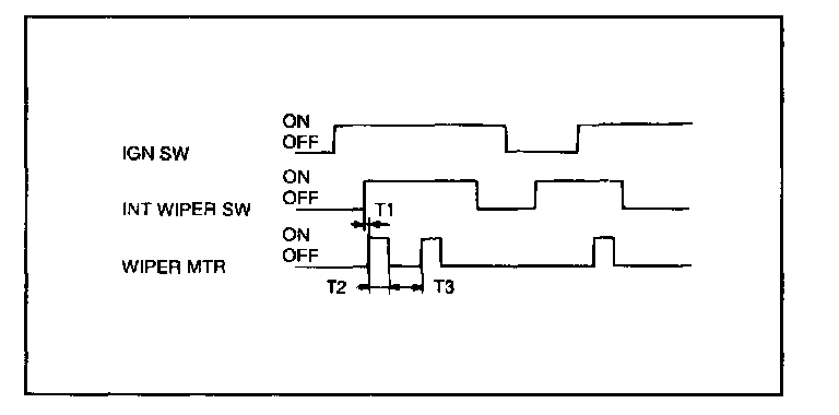
While operating the components, check whether the operations are normal with timing chart.




1. Variable intermittent wiper
Time specification
T1 : Max. 0.7 sec.
T2 : Time of wiper motor 1 rotation.
T3: 1.5 ± 0.7 sec. (VR=0kOhms) - 10.5 ± 3 sec. (VR=50 k ohms)




2. Washer
1. Time specification
T1 : 0.6 sec
T2 : 2.5 - 3.8 sec
2. This function should be operated preferentially even though the variable intermittent wiper is operating.




3. Rear window defogger
Time specification
T1: 20 ± 3 Min.




4. Seat belt warning
Time specification
T1,T2: 6 ± 1 sec.
T3: 0.3 ± 0.1 sec.




5. Ignition key hole illumination
Time specification
T1: 10 ± 2sec.
T2: 0 - 10 sec.




6. Delayed out room lamp
Time specification
T1 : 2 ± 0.5 sec.
T2 : 4 ± 1 sec.
T3 : 0 - 6 sec.




7. Door warning
Time specification
T1,T2 : 0.3 ± 0.1 sec.




8. Ignition key reminder
Time specification
T1 : 5.0 sec.




9. Door key illumination
1. Time specification
T1 : 10 sec.




10. Power window timer
Time specification
T1 : 30 ± 5 sec.