LEMON Manuals
: Even more car manuals for everyone: 1960-2025
Home
>>
Hyundai
>>
2002
>>
Elantra GLS, Standard
>>
Repair and Diagnosis
>>
Body & Frame
>>
Body, Cab Control Systems
>>
Body Control Modules
>>
System Tests
>>
Time & Alarm Control System (TACS)
>>
Rear Window Defogger
April 5, 2026:
LEMON Manuals is launched!
Read the announcement.
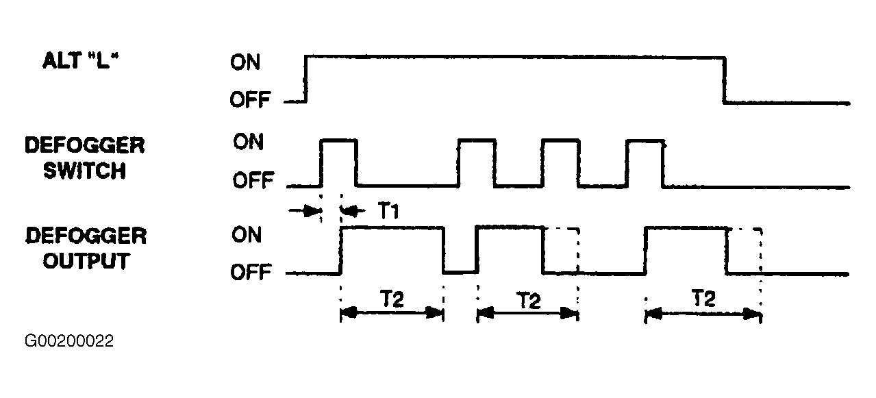
Rear Window Defogger
Time Specification:
T1: 60 msec.
T2: 19-21 min.
Use illustration for timing wave form pattern. See
Fig 1
.
Fig 1: Checking Rear Window Defogger
Courtesy of HYUNDAI MOTOR CO.