LEMON Manuals: Even more car manuals for everyone: 1960-2025
Home >> Hyundai >> 2002 >> Santa Fe Base, Automatic >> Repair and Diagnosis >> Body & Frame >> Body, Cab Control Systems >> Body Control Modules >> System Tests >> Electronic Time & Alarm Control System (ETACS) >> Rear Window Defogger
April 5, 2026: LEMON Manuals is launched! Read the announcement.

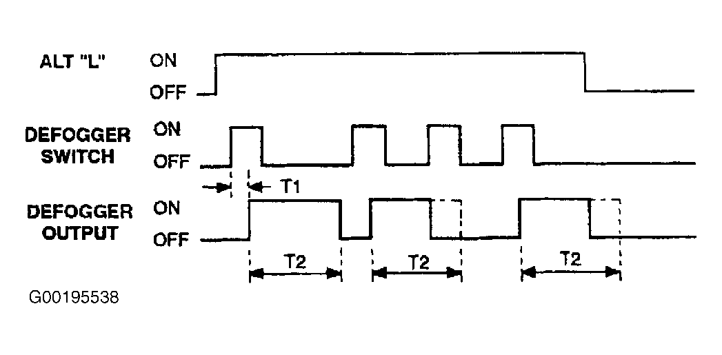
Rear Window Defogger

Time Specification:

T1: 60 msec.

T2: 19-21 min.

Use illustration for timing wave form pattern. See Fig 1 .

Fig 1: Checking Rear Window Defogger
G00195538Courtesy of HYUNDAI MOTOR CO.