LEMON Manuals: Even more car manuals for everyone: 1960-2025
Home >> Hyundai >> 2002 >> Santa Fe Base, Standard >> Repair and Diagnosis >> Body & Frame >> Body, Cab Control Systems >> Body Control Modules >> System Tests >> Electronic Time & Alarm Control System (ETACS) >> Power Window Timer
April 5, 2026: LEMON Manuals is launched! Read the announcement.

Power Window Timer

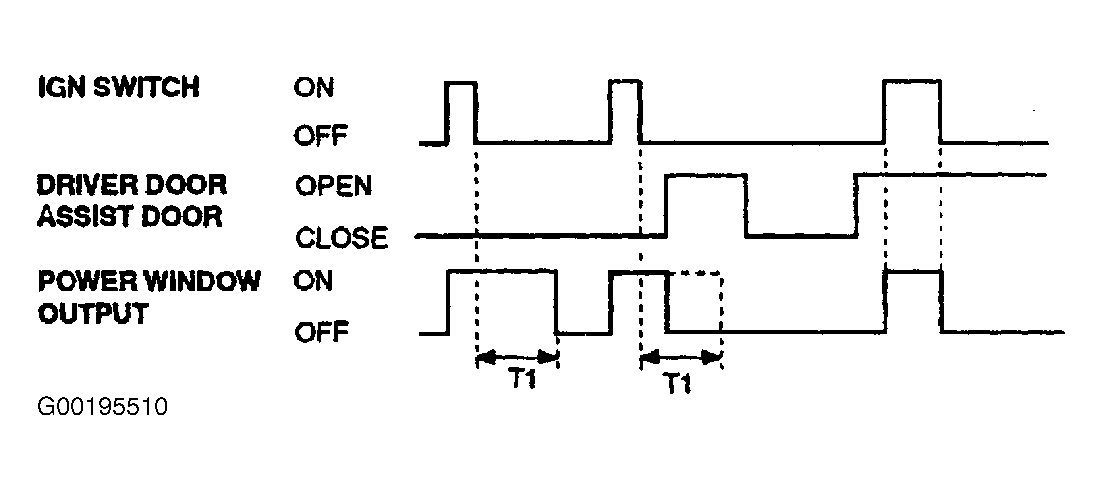
Time Specification: T1: 27-33 sec.

Use illustration for timing wave form pattern. See Fig 1 .

Fig 1: Checking Power Window Timer
G00195510Courtesy of HYUNDAI MOTOR CO.