LEMON Manuals: Even more car manuals for everyone: 1960-2025
Home >> Hyundai >> 2002 >> XG350 Base >> Repair and Diagnosis (Single Page) >> Body & Frame >> Mirrors >> Driver's Position Memory System >> Component Tests >> Anti-Theft Function >> Alarm Function
April 5, 2026: LEMON Manuals is launched! Read the announcement.

Alarm Function

  1. Time specification:

    T1: 27 sec.

    T2: 10 sec.

    T3: 0.4-0.6 sec. See Fig 1 .

    Fig 1: Checking Alarm Function
    G00209989Courtesy of HYUNDAI MOTOR CO.
  2. New alarm occurs while the alarm is sounding. See Fig 2 .
    Fig 2: New Alarm Occurs While Alarm Is Sounding
    G00209990Courtesy of HYUNDAI MOTOR CO.
  3. Disarmed with transmitter (TX) while alarm is sounding. Time specification:

    T1: 0.5 sec.

    T2: 1 sec. See Fig 3

    Fig 3: Disarmed Transmitter While Alarm Sounding
    G00209991Courtesy of HYUNDAI MOTOR CO.
  4. Transmitter (TX) lock button pressed when door closed while alarm is sounding. Time specification:

    T1: 0.5 sec.

    T2: Max. 2 sec.

    T3, T4: 0.4-0.6 sec. See Fig 4 .

    Fig 4: Transmitter Lock Button Pressed When Door Closed With Alarm
    G00209992Courtesy of HYUNDAI MOTOR CO.
  5. Transmitter (TX) lock button pressed when door opened while alarm is sounding. Time specification:

    T1: 0.5 sec.

    T2: Max. 2 sec.

    T3, T4: 0.4-0.6 sec. See Fig 5

    Fig 5: Transmitter Lock Button Pressed When Door Open With Alarm
    G00209993Courtesy of HYUNDAI MOTOR CO.
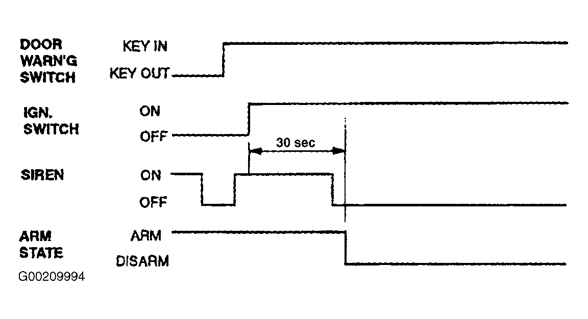
  6. Disarmed after 30 sec when the ignition switch is turned on while the alarm is sounding. See Fig 6 .
    Fig 6: Disarmed After When Ignition Switch Is Turned ON With Alarm
    G00209994Courtesy of HYUNDAI MOTOR CO.
  7. After finished siren 3 times (120 sec.), start inhibit is ON if door is opened and door latch lock state. See Fig 7 .
    Fig 7: After Siren Start Inhibit ON Door Opened & Door Latch Lock State
    G00209995Courtesy of HYUNDAI MOTOR CO.
  8. After finished siren 3 times (120 sec.), start inhibit is ON if door is opened and door latch unlock state. See Fig 8 .
    Fig 8: After Siren Start Inhibit ON Door Opened & Door Latch Unlock State
    G00209996Courtesy of HYUNDAI MOTOR CO.
  9. Battery is disconnected during the alarm state. See Fig 9 .
    Fig 9: Battery Disconnected During Alarm State
    G00209997Courtesy of HYUNDAI MOTOR CO.
  10. Trunk unlock with transmitter (TX) while the alarm is sounding. See Fig 10 .
    Fig 10: Trunk Unlock With Transmitter While Alarm Is Sounding
    G00209998Courtesy of HYUNDAI MOTOR CO.