LEMON Manuals: Even more car manuals for everyone: 1960-2025
Home >> Hyundai >> 2002 >> XG350 Base >> Repair and Diagnosis (Single Page) >> Body & Frame >> Mirrors >> Driver's Position Memory System >> Component Tests >> Electronic Time & Alarm Control System (ETACS) Function >> Wiper Mist
April 5, 2026: LEMON Manuals is launched! Read the announcement.

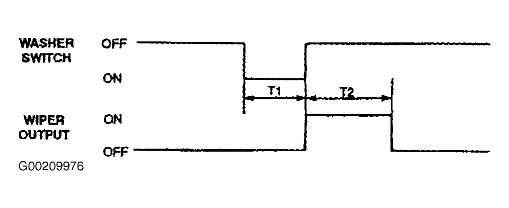
Wiper Mist

Time specification:

T1: 0.2-0.6 sec.

T2: 0.6-0.7 sec. See Fig 1

Fig 1: Checking Wiper Mist
G00209976Courtesy of HYUNDAI MOTOR CO.