LEMON Manuals: Even more car manuals for everyone: 1960-2025
Home >> Hyundai >> 2002 >> XG350 Base >> Repair and Diagnosis (Single Page) >> Body & Frame >> Seats >> Driver's Position Memory System >> Component Tests >> Electronic Time & Alarm Control System (ETACS) Function >> Variable Intermittent Wiper
April 5, 2026: LEMON Manuals is launched! Read the announcement.

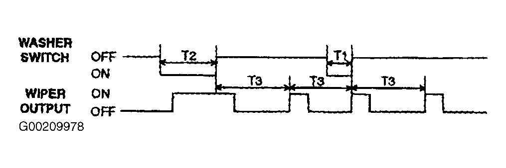
Variable Intermittent Wiper

Time specification:

T1: Less than 0.6 sec.

T2: More over 0.6 sec.

T3: Intermittent time: