LEMON Manuals: Even more car manuals for everyone: 1960-2025
Home >> Hyundai >> 2002 >> XG350 Base >> Repair and Diagnosis >> Body & Frame >> Body, Cab Control Systems >> Body Control Modules >> System Tests >> Electronic Time & Alarm Control System (ETACS) >> Washer
April 5, 2026: LEMON Manuals is launched! Read the announcement.

Electronic Time & Alarm Control System (ETACS): Washer

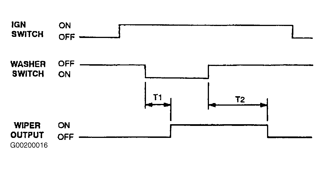
Time Specification:

This function should be operated preferentially even though the variable intermittent wiper is operating.

Use illustration for timing wave form pattern. See Fig 1 .

Fig 1: Checking Washer
G00200016Courtesy of HYUNDAI MOTOR CO.