LEMON Manuals
: Even more car manuals for everyone: 1960-2025
Home
>>
Hyundai
>>
2002
>>
XG350 Base
>>
Repair and Diagnosis
>>
Body & Frame
>>
Body, Cab Control Systems
>>
Body Control Modules
>>
System Tests
>>
Electronic Time & Alarm Control System (ETACS)
>>
Wiper Mist
April 5, 2026:
LEMON Manuals is launched!
Read the announcement.
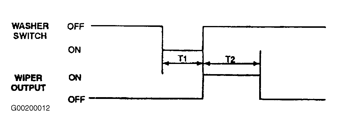
Wiper Mist
Time Specification:
T1: 0.2-0.6 sec.
T2: 0.6-0.7 sec.
Use illustration for timing wave form pattern. See
Fig 1
.
Fig 1: Checking Wiper Mist
Courtesy of HYUNDAI MOTOR CO.