LEMON Manuals: Even more car manuals for everyone: 1960-2025
Home >> Hyundai >> 2003 >> Accent Base >> Repair and Diagnosis (Single Page) >> Accessories & Equipment >> Anti-Theft Systems >> Electronic Time & Alarm Control System >> ETACS (Electronic Time & Alarm Control System) >> Electronic Time & Alarm Control Module >> Inspection
April 5, 2026: LEMON Manuals is launched! Read the announcement.

Electronic Time & Alarm Control Module: Inspection

While operating the components, check whether the operations are normal as shown in the timing chart.

  1. VEHICLE SPEED SENSING INTERMITTENT WIPER
    Fig 1: Intermittent Wiper Timing Chart
    G00956014Courtesy of HYUNDAI MOTOR CO.
  2. WASHER
    Fig 2: Washer Timing Chart
    G00956015Courtesy of HYUNDAI MOTOR CO.
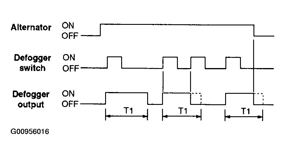
  3. DEFOGGER TIMER (Including Outside Mirror Demister)
    1. After ALT "L" ON, if the defogger is switched ON, the defogger output is ON for 20 minutes duration.
    2. If the defogger switch is pressed again, or if the ignition is switched OFF during this time, the defogger output is OFF.
    Fig 3: Defogger Timer Chart
    G00956016Courtesy of HYUNDAI MOTOR CO.
  4. SEAT BELT WARNING TIMER
    1. Since the ignition is switched ON, the seat belt warning indicator is illuminated infinitely (with period: 0.6 sec., duty rate: 50%) and the chime bell is sounded (with period: 0.9 sec., duty rate: 50%) for total time 6 seconds.
    2. If the ignition is switched off during the indicator and the chime bell output, the indicator and the chime bell are switched OFF.

      If the seat belt is fastened during the indicator and the chime bell output, the indicator and the chime bell are switched OFF immediately.

    3. When the ignition is already switched ON, if the seat belt is not fastened, the chime bell is sounded for 6 second and the warning indicator is illuminated infinitely.
    Fig 4: Seat Belt Warning Timing Chart
    G00956017Courtesy of HYUNDAI MOTOR CO.
  5. DELAYED ROOM LAMP & KEYLESS UNLOCK TIMER
    1. When the first door (driver's or assist) is opened, the room lamp shall brighten. When the last door is closed, the room lamp will drop to 75% intensity, then fade out over 5-6 seconds.
    2. If the door switch is ON for less than 0.1 sec., then no illumination occurs.
    3. The fade resolution is over 32 steps.
    4. The room lamp must not flicker during fade operation, if the ignition is switched ON.
    5. With keyless UNLOCK, when the door is closed, the room lamp is turned ON, then OFF after about 30 seconds. While the room lamp is ON due to keyless UNLOCK, if another UNLOCK is received, the room lamp is again ON for 30 seconds.

    While the room lamp is ON, If the door is opened, the lamp is continued to ON. If the door is closed, the lamp follows as the above step 1.

    If keyless LOCK (ARM state) is received during fade out, the room lamp is switched off immediately.

    Fig 5: Delayed Room Lamp & Keyless Unlock Timing Chart
    G00956018Courtesy of HYUNDAI MOTOR CO.
  6. CENTRAL DOOR LOCK/UNLOCK
    1. If transmitter (TX) lock or key lock signal is received, all door lock output is ON.
    2. With driver door lock state, if TX unlock or key unlock signal is received, only driver door unlock output is ON.
    3. Within 4 sec. since final unlock signal, if TX unlock or key unlock signal is received again, all doors unlock output is ON at driver door unlock state.

      If the time (4 sec.) elapse, only driver door unlock output is ON.

    4. Using safety knob, possible to central door lock/unlock.
    5. Door key unlock switch is applied to driver door, assist door and tailgate.
      Fig 6: Central Door Lock/Unlock Timing Chart
      G00956019Courtesy of HYUNDAI MOTOR CO.
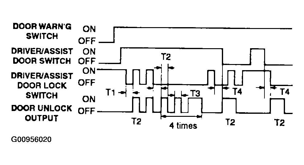
  7. IGNITION KEY REMINDER

    If the key is in the ignition and the driver's door or assist door is opened and the vehicle is locked using driver's knob or assist knob, then the central locking system will issue an unlock pulse of 1 second duration to the all doors thus preventing locking of the vehicle. (With a knob remains locked, if the switch in the actuator is not changed, the central locking shall issue 1 pulse of 1 seconds duration and 3 pulses of 0.5 second duration to unlock the vehicle.)

    Fig 7: Ignition Key Reminder Timing Chart
    G00956020Courtesy of HYUNDAI MOTOR CO.
  8. POWER WINDOW TIMER
    1. When the ignition is switched ON, the power window relay output is turned ON.
    2. When the ignition is switched OFF, the power window output is maintained ON for 30 seconds and then turned OFF.
    3. With the state of step 2, if the driver's door or assist door is opened, the output shall be turned OFF immediately.
    Fig 8: Power Window Timer Timing Chart
    G00956021Courtesy of HYUNDAI MOTOR CO.
  9. DOOR OPEN WARNING
    1. If the key is in the ignition key cylinder and the driver's door is opened, the chime bell sounds continually (period: 0.9 sec. Duty rate: 50%).
    2. If the door is closed or the key is removed, the chime stops immediately.
    Fig 9: Door Open Warning Timing Chart
    G00956022Courtesy of HYUNDAI MOTOR CO.
  10. TAIL LAMP AUTO CUT
    1. When the tail lamp is switched ON, if the ignition is switched OFF and the driver's door is opened, the tail lamp should be automatically OFF.
    2. With the ignition switched ON, if the driver's door is opened and the ignition is switched OFF, the tail lamp should be automatically OFF.
    3. When the tail lamp is cut automatically, if the tail lamp switch is turned OFF and ON, the tail lamp is illuminated and auto cut function is cancelled.
    Fig 10: Tail Lamp Auto Cut Timing Chart
    G00956023Courtesy of HYUNDAI MOTOR CO.
  11. CRASH DOOR UNLOCK
    1. With the ignition turned ON, if the air bag is deployed, a crash signal is received and send an UNLOCK output to all doors UNLOCK.
    2. After UNLOCK output, when LOCK is set, UNLOCK pulse is output for 5 second period again.
    Fig 11: Crash Door Unlock Timing Chart
    G00956024Courtesy of HYUNDAI MOTOR CO.
  12. TX LOCK TWO TIMES FUNCTION

    With transmitter (TX) lock (arm) state, if TX lock signal is received again within 4 sec. since final TX lock signal, horn alarms once for 0.05 sec.

    Fig 12: TX Lock Two Times Function Timing Chart
    G00956025Courtesy of HYUNDAI MOTOR CO.
  13. PANIC ALARM
    1. If panic switch is ON, horn output keeps ON for 30 sec and if panic switch is ON again, horn output is OFF.
    2. Panic mode is not affected at arm or disarm state.
    3. While panic is operating, arm or disarm function operates.
Fig 13: Panic Alarm Timing Chart
G00956026Courtesy of HYUNDAI MOTOR CO.