LEMON Manuals: Even more car manuals for everyone: 1960-2025
Home >> Hyundai >> 2003 >> Accent Base >> Repair and Diagnosis >> Body & Frame >> Windows >> Interior >> Console >> Removal And Installation
April 5, 2026: LEMON Manuals is launched! Read the announcement.

Removal And Installation

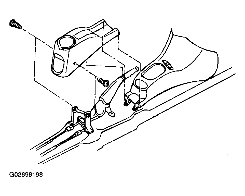
  1. Remove the rear console mounting screws, and then pull out the rear console.
    Fig 1: Removing Rear Console
    G02698198Courtesy of HYUNDAI MOTOR CO.
  2. Remove the transaxle control lever.
  3. Remove the front console assembly and then disconnect the connectors.
    Fig 2: Removing Front Console
    G02698199Courtesy of HYUNDAI MOTOR CO.
  4. Installation is the reverse of removal.