LEMON Manuals: Even more car manuals for everyone: 1960-2025
Home >> Hyundai >> 2003 >> Accent L4-1.5L >> Repair and Diagnosis >> Body and Frame >> Locks >> Power Locks >> Power Door Lock Control Module >> Testing and Inspection
April 5, 2026: LEMON Manuals is launched! Read the announcement.

Power Door Lock Control Module: Testing and Inspection

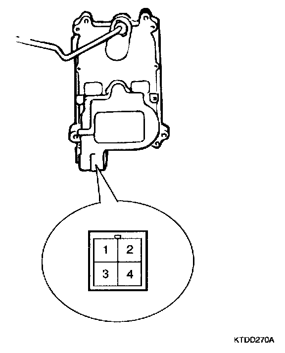
FRONT DOOR LOCK ACTUATOR INSPECTION
1. Remove the front door trim panel. (Refer to BD group- Front door)




2. Disconnect the 4P connector from the actuator.




3. Check actuator operation by connecting power and ground according to the table. To prevent damage to the actuator, apply battery voltage only momentarily.

REAR DOOR LOCK ACTUATOR INSPECTION
1. Remove the rear door trim panel. (Refer to BD group Rear door)




2. Disconnect the 4P connector from the actuator.




3. Check actuator operation by connecting power and ground according to the table. To prevent damage to the actuator, apply battery voltage only momentarily.