LEMON Manuals: Even more car manuals for everyone: 1960-2025
Home >> Hyundai >> 2003 >> Accent L4-1.5L >> Repair and Diagnosis >> Relays and Modules >> Relays and Modules - Powertrain Management >> Relays and Modules - Computers and Control Systems >> Engine Control Module >> Testing and Inspection >> Component Tests and General Diagnostics
April 5, 2026: LEMON Manuals is launched! Read the announcement.

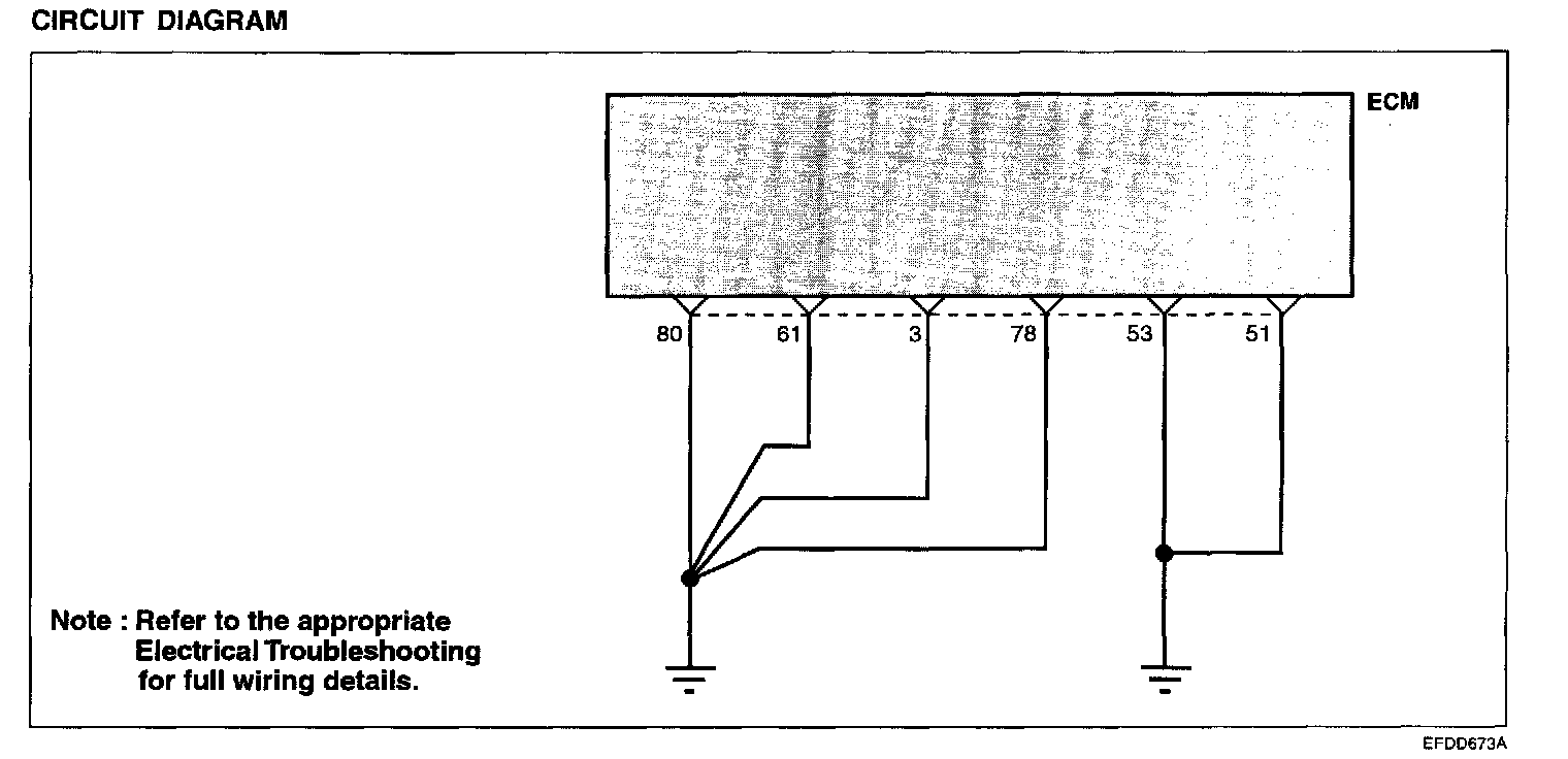
Component Tests and General Diagnostics

ENGINE CONTROL MODULE (ECM) - POWER GROUND

Check the ground condition of the engine control module.





Circuit Diagram:






Harness Inspection Procedure: