LEMON Manuals: Even more car manuals for everyone: 1960-2025
Home >> Hyundai >> 2003 >> Santa Fe Base, Standard >> Repair and Diagnosis (Single Page) >> Brakes >> Traction Control >> Anti-Lock Brake System >> Abs (Anti-Lock Brake System) >> Anti-Lock Braking System Control Module >> HECU Block Diagram
April 5, 2026: LEMON Manuals is launched! Read the announcement.

HECU Block Diagram

Fig 1: ABS ECU Block Diagram
G00789545Courtesy of HYUNDAI MOTOR CO.
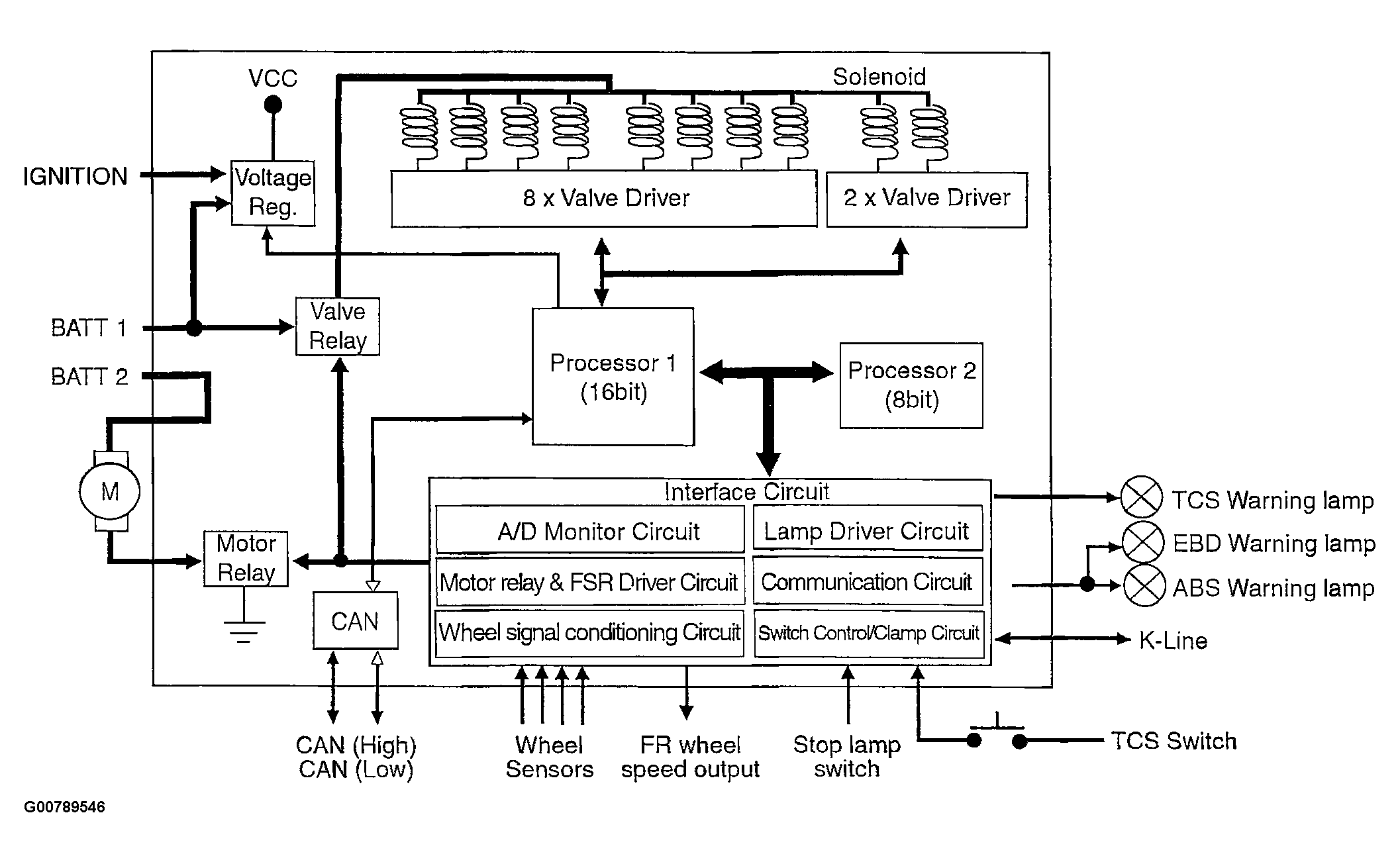
Fig 2: TCS ECU Block Diagram
G00789546Courtesy of HYUNDAI MOTOR CO.