LEMON Manuals: Even more car manuals for everyone: 1960-2025
Home >> Hyundai >> 2003 >> Tiburon Base, Standard >> Repair and Diagnosis >> External Pages >> Different car >> Section 16 (Emission Control System) >> Crankcase Emission Control System >> Components
April 5, 2026: LEMON Manuals is launched! Read the announcement.

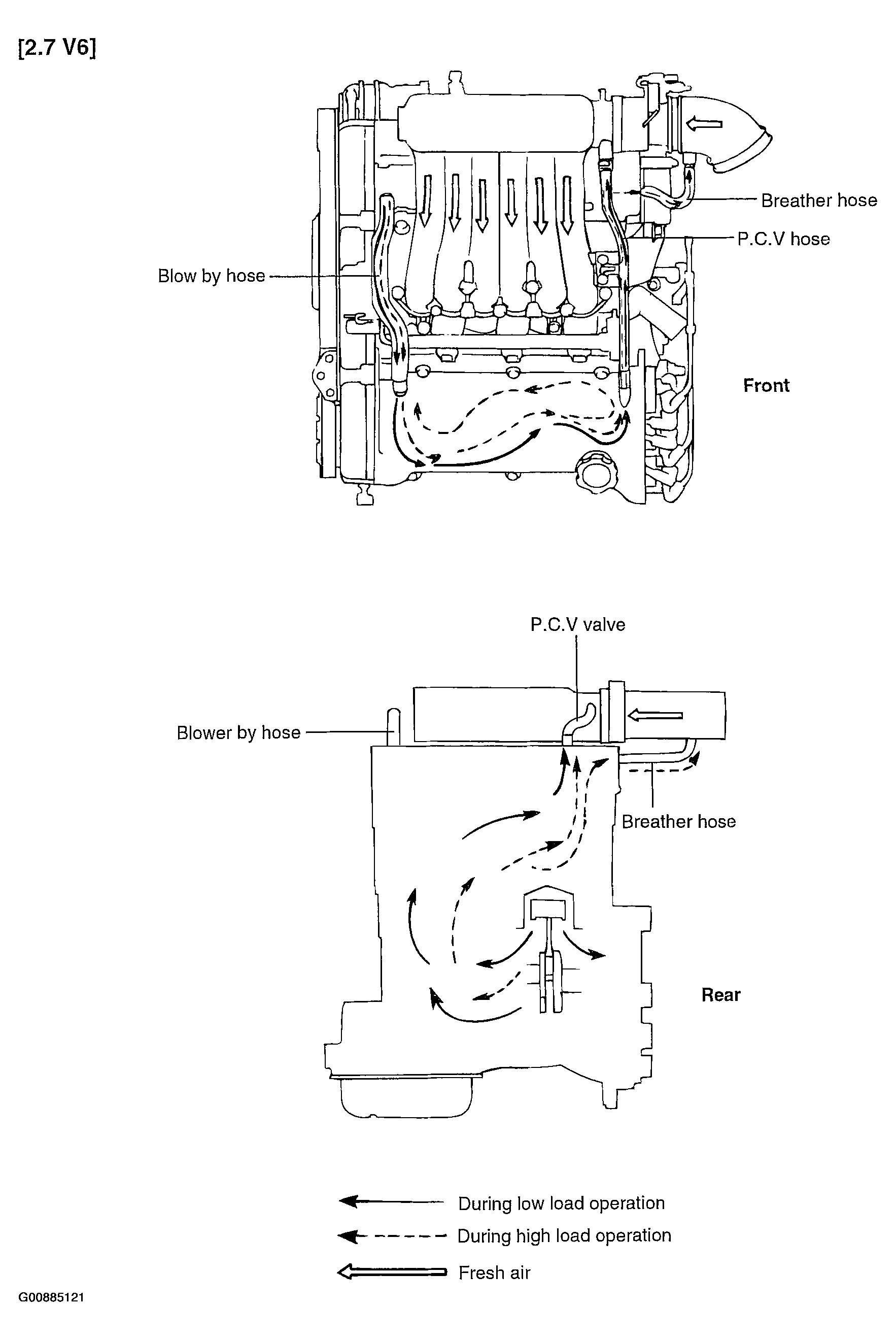
Crankcase Emission Control System: Components

WARNING: This page is about a different car, the 2004 Hyundai Tiburon. However, it is still accessible from the selected car via links, so may be relevant.
Fig 1: Locating Crankcase Emission Control System Components (1 Of 2)
G00885120Courtesy of HYUNDAI MOTOR CO.
Fig 2: Locating Crankcase Emission Control System Components (2 Of 2)
G00885121Courtesy of HYUNDAI MOTOR CO.