LEMON Manuals: Even more car manuals for everyone: 1960-2025
Home >> Hyundai >> 2003 >> Tiburon Base, Standard >> Repair and Diagnosis >> External Pages >> Different variant/trim >> Section 3 (Automatic Transaxle System) >> General >> Inspection Process For Diagnostic >> DTC P0715: Input Shaft Speed Sensor System
April 5, 2026: LEMON Manuals is launched! Read the announcement.

DTC P0715: Input Shaft Speed Sensor System

WARNING: This page is about a different variant/trim than selected.
Fig 1: DTC P0715 Detecting Conditions & Probable Causes
G00968884Courtesy of HYUNDAI MOTOR CO.
Fig 2: DTC P0715 Diagnostic Flow Chart
G00968885Courtesy of HYUNDAI MOTOR CO.
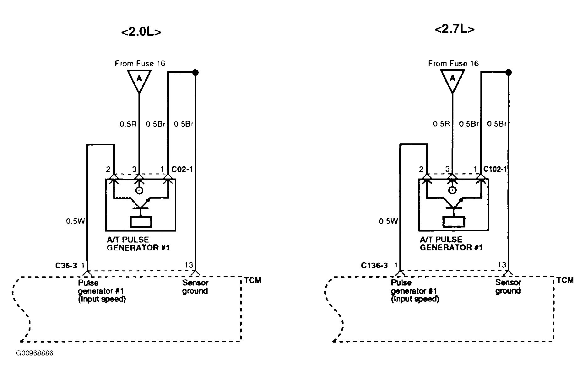
Fig 3: A/T Pulse Generator #1 Circuit
G00968886Courtesy of HYUNDAI MOTOR CO.