LEMON Manuals: Even more car manuals for everyone: 1960-2025
Home >> Hyundai >> 2003 >> Tiburon L4-2.0L >> Repair and Diagnosis >> Body and Frame >> Body Control Systems >> Body Control Module >> Testing and Inspection >> Component Tests and General Diagnostics >> Auto Light Control Function
April 5, 2026: LEMON Manuals is launched! Read the announcement.

Auto Light Control Function

AUTO LIGHT CONTROL

1. Function explanation : When multi-function lighting switch is put at AUTO position in ignition key is on state, tail lamp and headlamp turns on automatically depending on the auto light sensor values.

2. Related schematic diagrams
- See the Auto Lights.


3. Input/output signal
- Fuse : Headlamp (Low) Fuse (15 A), Headlamp (High) Fuse (15 A), F21 (10A)
- Input. Auto light switch (H14), Auto light sensor voltage (J11)
- Output: Tail lamp, headlamp

4. Related Hi-scan(pro) failure diagnosis







1. Input/output monitoring
Select "03.LAMP" and press [ENTER]. Then the following screen will be displayed.

Check BCM input/output condition against auto light switch, auto light sensor voltage, auto light option, tail lamp and headlamp.







2. Actuator inspection
Select "01 INPUT ACTUATION" and press [ENTER].

Perform forced drive against auto light switch.

5. Expected failure diagnosis
1. Auto light does not work (Tail lamp and headlamp works by the switch).
2. When auto light is turned on, tail lamp and headlamp turns on simultaneously.

NOTE: When the ambient luminous intensity is dark, tail lamp and headlamp may turn on simultaneously in auto light on condition In this case it's not the failure.

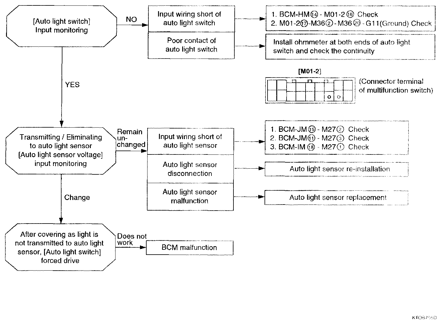
6. Actions by failure symptoms




1. Auto light does not work. (Tail lamp and headlamp work by the switches)




2. When auto light is turned on, tail lamp and headlamp turn on simultaneously.