LEMON Manuals: Even more car manuals for everyone: 1960-2025
Home >> Hyundai >> 2003 >> Tiburon V6-2.7L >> Repair and Diagnosis >> Body and Frame >> Body Control Systems >> Body Control Module >> Testing and Inspection >> Component Tests and General Diagnostics >> Wiper & Washer Control Function
April 5, 2026: LEMON Manuals is launched! Read the announcement.

Wiper & Washer Control Function

WIPER & WASHER CONTROL

1. Function explanation
1. When washer switch is turned on, wiper operates two or three rotation.
2. Intermittent time varies by the vehicle speed and intermittent wiper volume control.

2. Related schematic diagrams
- See the Front Wiper and Washer.


3. Input/output signal
- Fuse F10 (20 A).
- Input Washer switch (K6), wiper INT switch (J9) wiper INT (T) (J10), Wiper parking (K14).
- Output Wiper relay (C3).

4. Related Hi-scan(pro) failure diagnosis







1. Input/output monitoring
Select "06.WIPER" and press [ENTER]. Then, the following screen will be displayed.

Check BCM input/output condition against front washer switch intermittent wiper switch, intermittent wiper relay intermittent wiper variable voltage, wiper parking snow safety relay.

2. Actuator inspection







1. Select "01.INPUT ACTUATION" and press [ENTER].

Perform forced drive against front washer switch, intermittent wiper switch.







2. Select "02.0UTPUT ACTUATION" and press [ENTER].

Perform forced drive against intermittent wiper relay and snow safety relay.

5. Expected failure symptoms
1. Wiper low and Wiper high does not work.
2. Wiper does not work when wiper INT is turned on.
3. When washer switch is turned on, wiper does not interlock.
4. When wiper INT volume is controlled, wiper intermittent time does not change.
5. Wiper intermittent time does not change by the vehicle speed.
6. When wiper INT operating, wiper stops in-between.

6. Actions by failure symptoms




1. Wiper low and Wiper high does not work

Since wire drives directly wiper low and high operation, check the 3 items by referring to front wiper & washer.




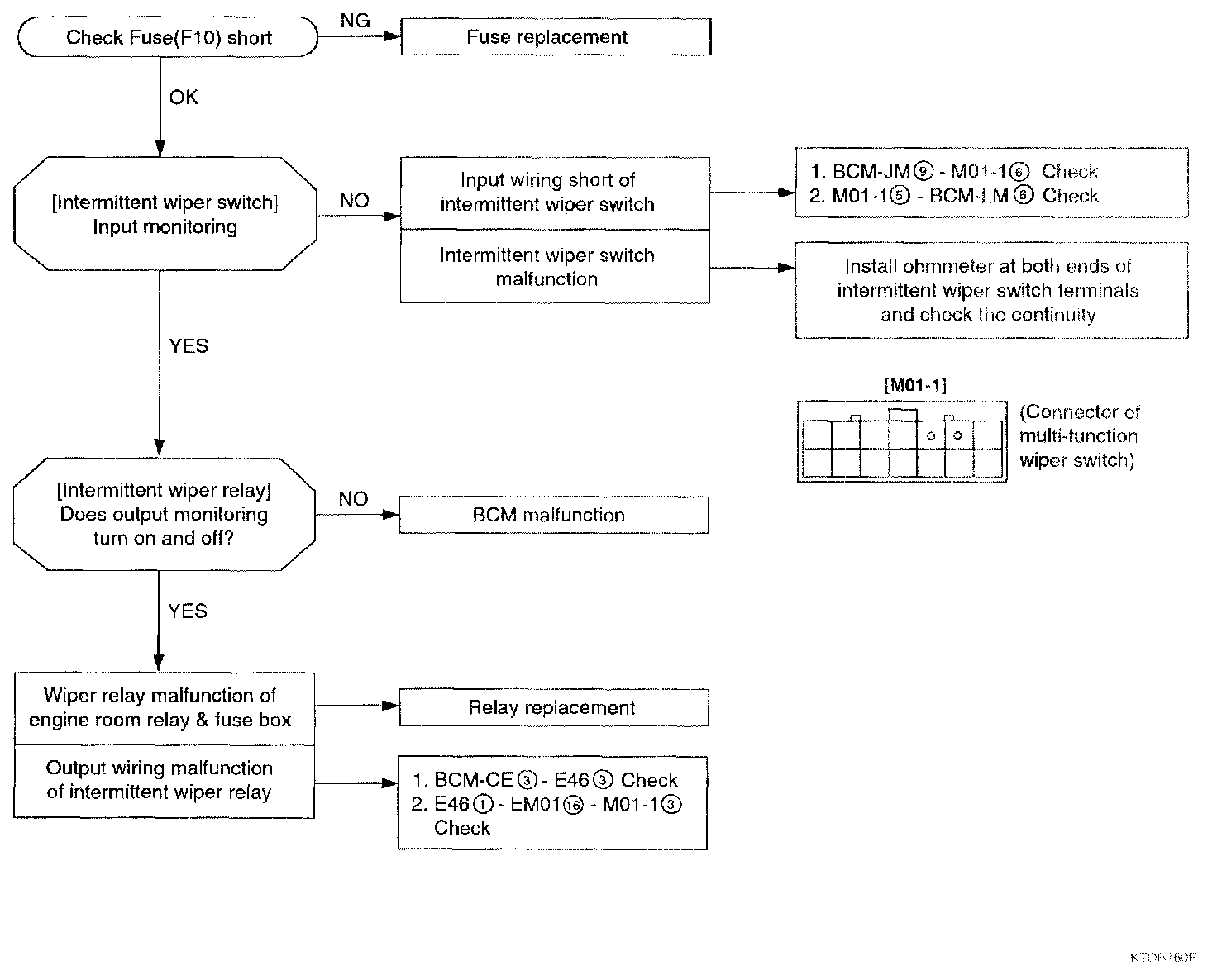
2. When wiper INT is ON, wiper does not work.




3. When washer switch is on, wiper does not interlock




4. When wiper INT volume is controlled, wiper intermittent does not vary




5. Wiper intermittent time does not change with the vehicle speed.




6. When wiper INT is operating wiper stops in-between.
1. If parking signal is inputted when wipe INT or OFF is operating, wiper stops judging wiper motor overload.

2. When wiper Low High is operating this function is not available.