LEMON Manuals: Even more car manuals for everyone: 1960-2025
Home >> Hyundai >> 2003 >> Tiburon V6-2.7L >> Repair and Diagnosis >> Powertrain Management >> Computers and Control Systems >> Relays and Modules - Computers and Control Systems >> Body Control Module >> Testing and Inspection >> Component Tests and General Diagnostics >> Ignition Key Hole Illumination Function
April 5, 2026: LEMON Manuals is launched! Read the announcement.

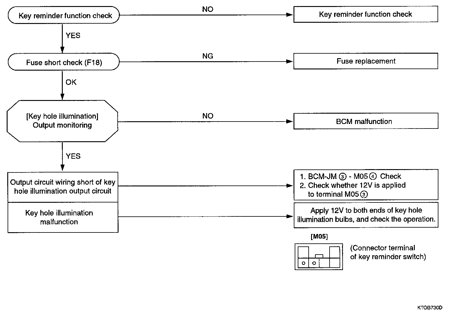
Ignition Key Hole Illumination Function

IGNITION KEY HOLE ILLUMINATION

1. Function explanation When driver's side door is opened and closed ignition key hole illumination turns on for 10 seconds so that the driver can insert the key.

2. Related schematic diagrams
- See the Immobilizer Control System.


3. Input/output signal
- Fuse F18 (10 A)
- Input Driver's side door switch (E9), Passenger's side door switch (E4)
- Output Key hole illumination (J3)







4. Related Hi-scan(pro) failure diagnosis
1. Input/output monitoring
Select "04 DOOR" and press [ENTER] Then the following screen will be displayed.

Check BCM output condition against key hole illumination.







2. Actuator inspection
Select "02.OUTPUT ACTUATION" and press [ENTER].

Perform forced drive against key hole illumination.

5. Expected failure symptoms
Key hole illumination does not work.




6. Actions by failure symptoms Key hole illumination does not work.