LEMON Manuals: Even more car manuals for everyone: 1960-2025
Home >> Hyundai >> 2003 >> XG 350 V6-3.5L >> Repair and Diagnosis >> Power and Ground Distribution >> Timer/Control Unit >> Testing and Inspection
April 5, 2026: LEMON Manuals is launched! Read the announcement.

Timer/Control Unit: Testing and Inspection

White operating the components, check whether the operations are normal with timing chart.

ETACS FUNCTION




1. Variable intermittent wiper

Time specification
T1 : Less than 0.6 sec.
T2: More over 0.6 sec.
T3 : Intermittent time
Min. 1.5 ± 0.7 sec. (at VR = 0 kohm)
Max. 10.5 ± 3 sec. (at VR = 50 kohm)




2. Washer
a. Time specification

T1 : 0.6 sec.
T2 : 2.5 - 3.8 sec.

b. This function should be operated preferentially even though the variable intermittent wiper is operating.




3. Wiper mist

Time specification
T1 : 0.2 - 0.6 sec.
T2 : 0.6 - 0.7 sec.




4. Rear window defogger

Time specification
T1 : 15 ± 1 min.




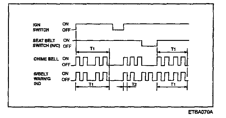
5. Seat belt warning
Time specification
T1 : 6 ± 1 sec.
T2 : 0.3 ± 0.1 sec.




6. Ignition key hole illumination

Time specification
T1 : 10 ± 1 sec.
T2 : 0 - 10 sec.




7. Delayed out room lamp

Time specification
T1 : 5.5 ± 0.5 sec.




8. Door warning
Time specification
T1, T2 : 0.3 ± 0.1 sec.




9. Tail lamp auto cut




10. Power window timer

Time specification
T1 : 30 ± 5 sec.

ANTI-THEFT FUNCTION




1. Arm function

Time specification
T1 : 0.5 sec.
T2 : 0.5 ± 0.1 sec.
T3 : 2 sec.
T4 : Max. 2 sec.




2. Disarm function

Time specification
T1 : 1 sec.

3. Alarm function




a. Time specification

T1 : 27 sec.
T2 : 10 sec.
T3 : 0.5 ± 0.1 sec.




b. New alarm occurs while the alarm is sounding.




c. Disarmed with TX (Transmitter) while the alarm is sounding.

Time specification
T1 : 0.5 sec.
T2 : 1 sec.




d. TX (Transmitter) lock button pressed when the door closed while the alarm is sounding.

Time specification
T1 : 0.5 sec.
T2 : Max. 2 sec.
T3, T4 : 0.5 ± 0.1 sec.




e. TX (Transmitter) lock button pressed when the door opened while the alarm is sounding.

Time specification
T1 : 0.5 sec.
T2 : Max. 2 sec.
T3, T4 : 0.5 ± 0.1 sec.




f. Disarmed after 30 sec when the ignition switch is turned on while the alarm is sounding.




g. After finished siren 3 times (120 sec.), start inhibit is "ON" if door is opened and the door latch lock state.




h. After finished siren 3 times (120 sec.), start inhibit is "ON" if door is opened and the door latch unlock state.




i. Battery is disconnected during the alarm state.




j. Trunk unlock with TX (Transmitter) while the alarm is sounding.




4. Alarm with holding function.

5. Code saving method.




a. Remove the lower crash pad panel.

NOTE: Don't disconnect the negative (-) battery terminal.




b. To store new codes:
- Activate the keyless entry/receiver unit and change code saving switch of the receiver unit from "OFF" to "SET".
- The secret codes from the transmitter will be stored into the receiver unit when the door lock button or unlock button is pressed on the transmitter.
- Save the 2nd transmitter codes in the same manner.




c. Return the code saving switch of the receiver unit from "SET" to "OFF".
d. Install the lower crash pad panel.