LEMON Manuals: Even more car manuals for everyone: 1960-2025
Home >> Hyundai >> 2003 >> XG350 Base >> Repair and Diagnosis >> Brakes >> Traction Control >> Anti-Lock Brake System >> Bleeding Brake System
April 5, 2026: LEMON Manuals is launched! Read the announcement.

Bleeding Brake System

This procedure should be followed to ensure adequate bleeding of air and filling of the ABS unit, brake lines and master cylinder with brake fluid.

  1. Remove the reservoir cap and fill the brake reservoir with brake fluid.
    CAUTION: If there is any brake fluid on any painted surface, wash it off immediately.
    NOTE: When pressure bleeding, do not depress the brake pedal.

    Recommended fluid DOT3 or DOT4 

    Fig 1: View Of Master Cylinder & Brake Booster Assembly
    G01355157Courtesy of HYUNDAI MOTOR CO.
  2. Connect a clear plastic tube to the wheel cylinder bleeder plug and insert the other end of the tube into a half filled clear plastic bottle.
    Fig 2: Installing Clear Plastic Tube To Brake Caliper Bleeder
    G01355158Courtesy of HYUNDAI MOTOR CO.
  3. Connect the Hi-Scan (Pro) to the Data Link Connector located underneath the dash panel.
    Fig 3: Connecting Hi-Scan (Pro) To Data Link Connector
    G01355159Courtesy of HYUNDAI MOTOR CO.
  4. Select and operate according to the instructions on the Hi-Scan (Pro) screen.
    CAUTION: You must obey the maximum operating time of the ABS motor with the Hi-Scan (Pro) to prevent the motor pump from burning.
    1. Select Hyundai vehicle diagnosis.
      Fig 4: Selecting Hyundai Vehicle Diagnosis
      G01355160Courtesy of HYUNDAI MOTOR CO.
    2. Select vehicle name.
    3. Select Anti-Lock Brake system.
    4. Select air bleeding mode.
    5. Press 'YES' to operate motor pump and solenoid valve.
      Fig 5: Selecting "Yes"
      G01355161Courtesy of HYUNDAI MOTOR CO.
    6. Wait 60 sec. before operating the air bleeding. (If not, you may damage the motor).
    Fig 6: Automatic Time Count Display
    G01355162Courtesy of HYUNDAI MOTOR CO.
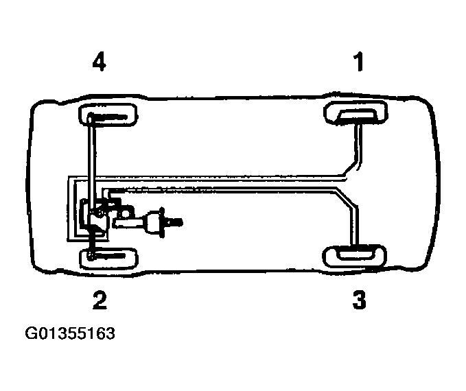
  5. Pump the brake pedal several times, and then loosen the bleeder screw until fluid starts to run out without bubbles. Then close the bleeder screw.
  6. Repeat step 5 until there are no more bubbles in the fluid for each wheel.
    Fig 7: Brake Bleeding Sequence
    G01355163Courtesy of HYUNDAI MOTOR CO.
  7. Tighten the bleeder screw.

    Bleeder screw tightening torque: 

    7 ~ 13 Nm (70 ~ 130 kg.cm, 5 ~ 9.5 lb-ft)