LEMON Manuals: Even more car manuals for everyone: 1960-2025
Home >> Hyundai >> 2004 >> Elantra GLS, Automatic >> Repair and Diagnosis >> Engine Performance >> Engine Control Systems >> Fuel System >> DTC Trouble Shooting Procedures >> DTC P0036: O2 Sensor Heater - Heater Control Circuit (Bank 1, Sensor 2) >> Schematic Diagram
April 5, 2026: LEMON Manuals is launched! Read the announcement.

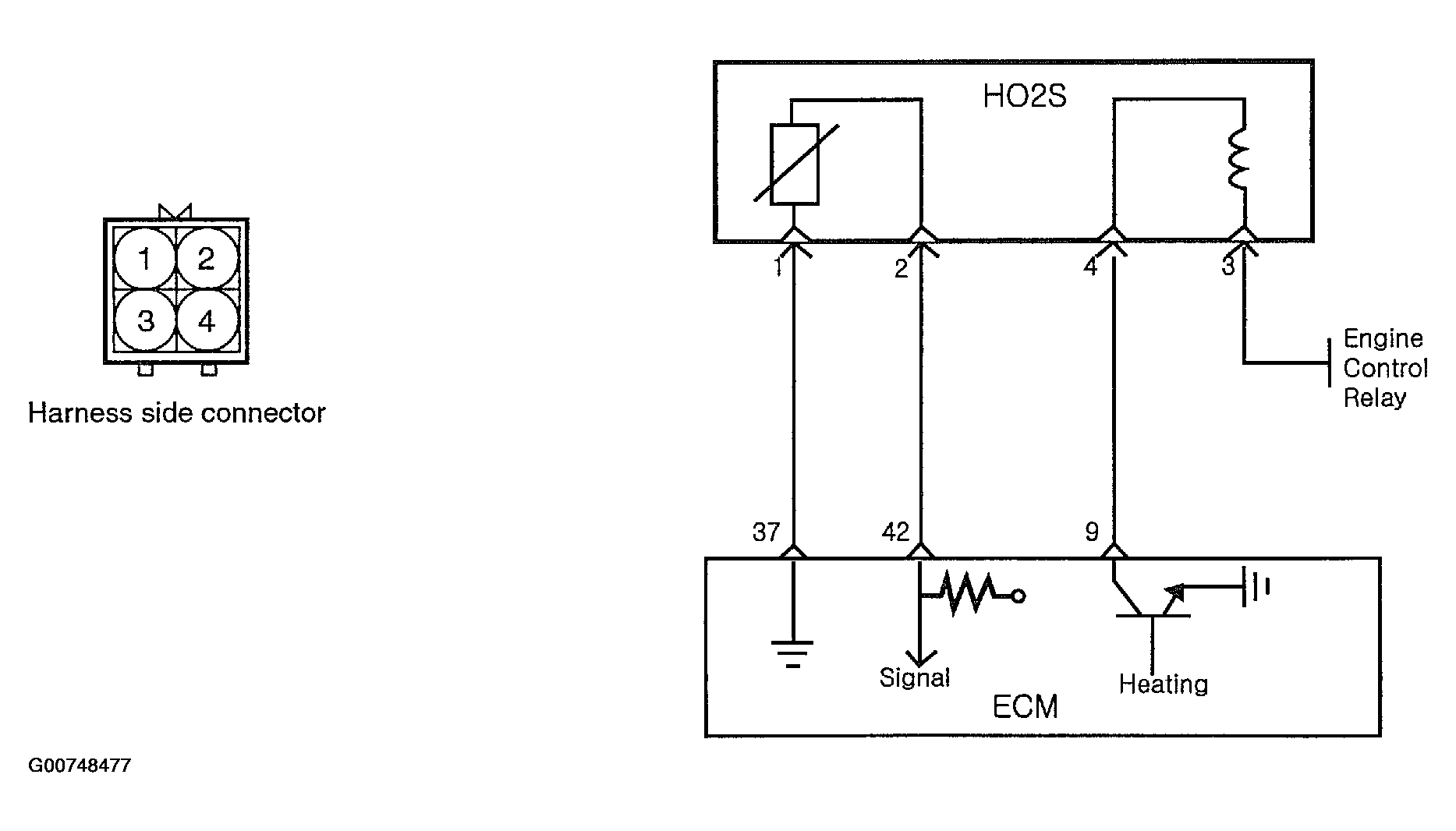
Schematic Diagram

Fig 1: HO2S Circuit Schematic
G00748477Courtesy of HYUNDAI MOTOR CO.