LEMON Manuals: Even more car manuals for everyone: 1960-2025
Home >> Hyundai >> 2004 >> Elantra GLS, Standard >> Repair and Diagnosis >> Engine Performance >> Engine Control Systems >> Fuel System >> DTC Trouble Shooting Procedures >> DTC P0101: Mass Air Flow Sensor (MAFS) Range/Performance Problem >> Schematic Diagram
April 5, 2026: LEMON Manuals is launched! Read the announcement.

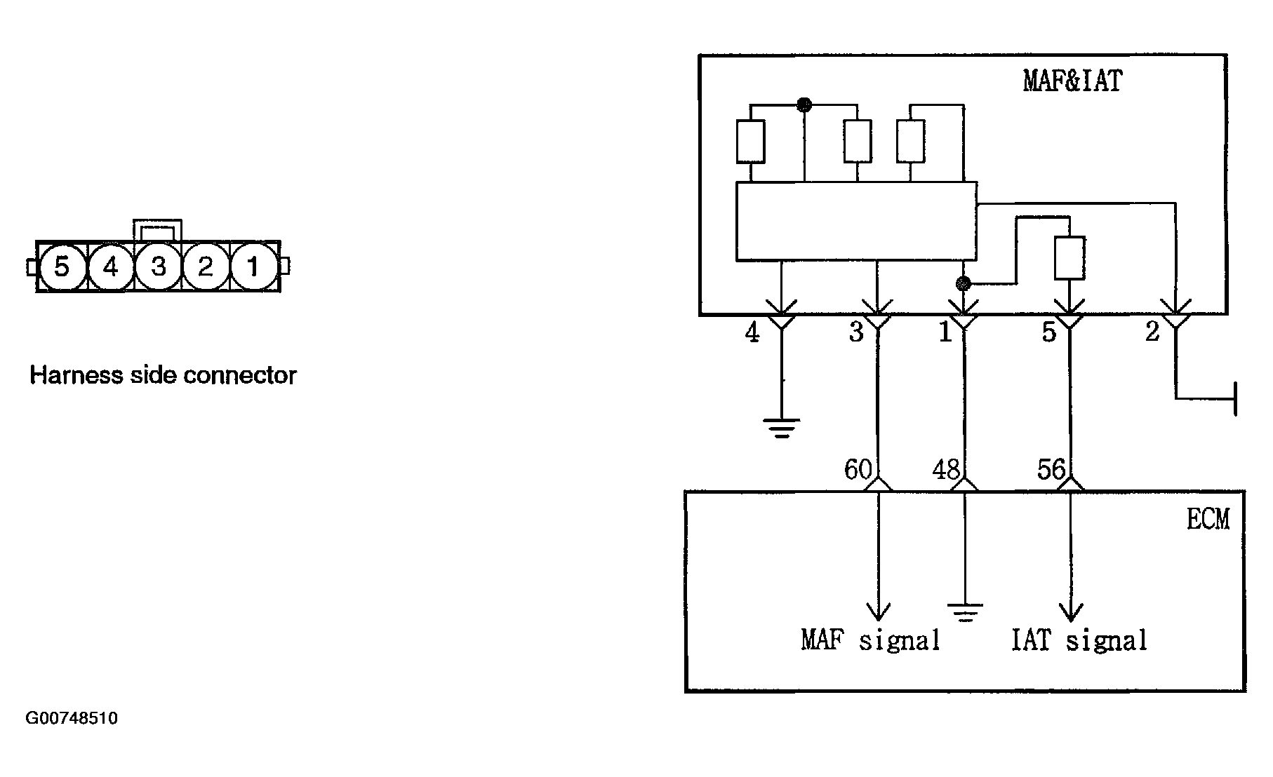
Schematic Diagram

Fig 1: MAFS Schematic
G00748510Courtesy of HYUNDAI MOTOR CO.