LEMON Manuals: Even more car manuals for everyone: 1960-2025
Home >> Hyundai >> 2004 >> Santa Fe Base, Automatic >> Repair and Diagnosis (Single Page) >> Accessories & Equipment >> Anti-Theft Systems >> Electronic Time & Alarm Control System >> ETACS (Electronic Time And Alarm Control System) >> Inspection >> ETACS Function >> Notes
April 5, 2026: LEMON Manuals is launched! Read the announcement.

ETACS Function: Notes

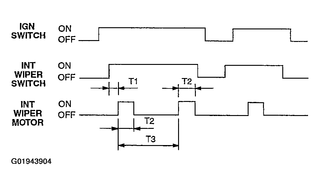
  1. Vehicle speed sensing intermittent wiper 
    Fig 1: Variable Intermittent Wiper Timing Chart
    G01943904Courtesy of HYUNDAI MOTOR CO.

    Time specification

    T1: Max. 0.5 sec.

    T2: 0.6+/-0.7 sec. (Time of wiper motor 1 rotation)

    T3: At vehicle speed = 0km/h.

    1. 2.6+/-0.7 sec. (VR=0kohm)+/-18.0+/-1 sec (VR=50Kohm)
    2. At vehicle speed = 100km/h or more.
    3. 1.0+/-0.2 sec (VR=0kohm)~10.0+/-1 sec (VR=50Kohm)
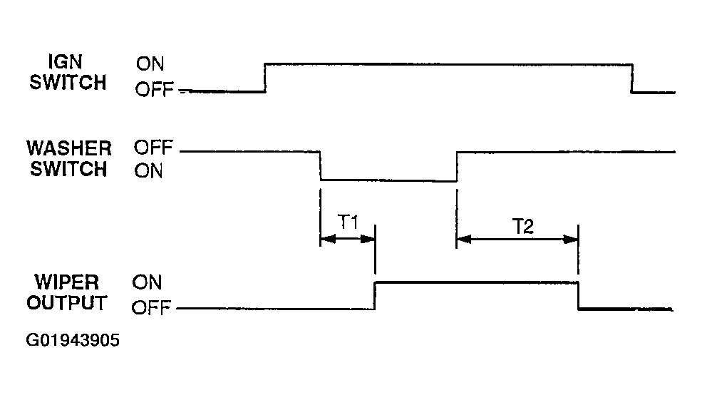
  2. Washer 
    Fig 2: Wiper Related To Washer Timing Chart
    G01943905Courtesy of HYUNDAI MOTOR CO.
    1. Time specification

      T1: 0.2 ~ 0.4 sec.

      T2: 2.5 ~ 3.8 sec.

    2. This function should be operated preferentially even though the variable intermittent wiper is operating.
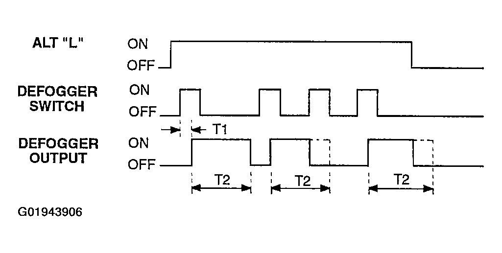
  3. Rear window defogger 
    Fig 3: Defogger Timer Chart
    G01943906Courtesy of HYUNDAI MOTOR CO.

    Time specification

    T1: 60 msec

    T2: 20+/-1 min.

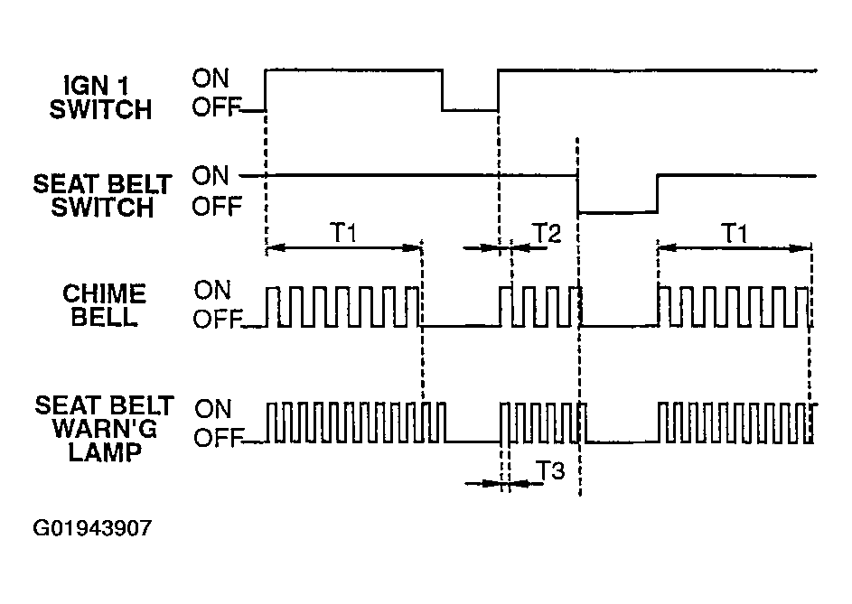
  4. Seat belt warning 
    Fig 4: Seat Belt Warning Timer Chart
    G01943907Courtesy of HYUNDAI MOTOR CO.

    Time specification

    T1: 6 +/- 1 sec.

    T2: 0.45+/-0.1 sec.

    T3: 0.3 +/- 0.1 sec.

  5. Ignition key hole illumination 
    Fig 5: Ignition Key Hole Illumination Timing Chart
    G01943908Courtesy of HYUNDAI MOTOR CO.

    Time specification

    T1: 10 +/- 1 sec.

    T2: 0 ~ 10 sec.

  6. Decayed out room lamp 
    Fig 6: Lamp Timer Chart
    G01943909Courtesy of HYUNDAI MOTOR CO.

    Time specification

    T1: 5.5+/-0.5 sec.

    T2: 30+/-2 sec.

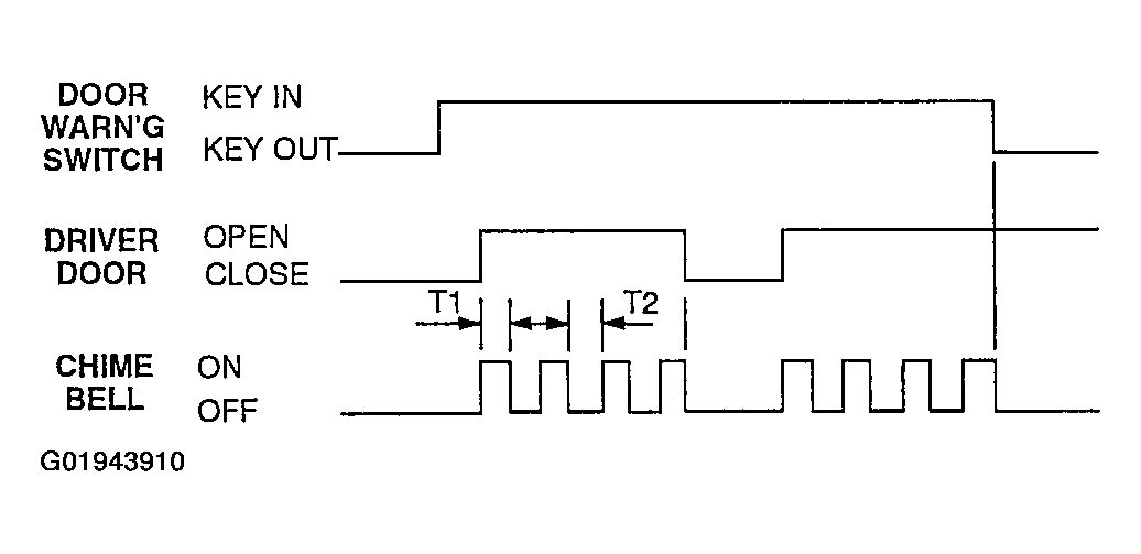
  7. Key operated warning 
    Fig 7: Key Operated Warning Timing Chart
    G01943910Courtesy of HYUNDAI MOTOR CO.

    Time specification

    T1, T2: 0.45+/-0.1 sec.

  8. Ignition key reminder 
    Fig 8: Ignition Key Reminder Timing Chart
    G01943911Courtesy of HYUNDAI MOTOR CO.

    Time specification

    T1: 0.5 sec.

    T2: 1 sec.

    T3: 0.5 sec., 3 times

  9. Tail lamp auto cut 
    Fig 9: Tail Lamp Auto Cut Timing Chart
    G01943912Courtesy of HYUNDAI MOTOR CO.
  10. Power window timer 
    Fig 10: Power Window Timer Chart
    G01943913Courtesy of HYUNDAI MOTOR CO.

    Time specification

    T1: 30+/-3 sec.

  11. Central door lock/unlock 
    Fig 11: Central Door Lock/Unlock Timer Chart
    G01943914Courtesy of HYUNDAI MOTOR CO.

    Time specification

    T1: 0.5+/-0.1 sec.

    T2: Max. 4 sec.

    T3: Min. 4 sec.

  12. Crash door unlock 
    Fig 12: Crash Door Unlock Timing Chart
    G01943915Courtesy of HYUNDAI MOTOR CO.

    Time specification

    T1: 200ms

    T2: 40ms

    T3: 5+/-0.5 sec.

  13. Parking start warning 
    Fig 13: Parking Start Warning Timing Chart
    G01943916Courtesy of HYUNDAI MOTOR CO.

    Time specification

    T1: 2.5+/-0.5 sec

    T2: 0.3+/-0.1 sec

  14. TX lock two times function 
    Fig 14: TX Lock Two Times Function Timing Chart
    G01943917Courtesy of HYUNDAI MOTOR CO.

    Time specification

    T1: 0.5+/-0.1 sec., T2: 1+/-0.2 sec., T3: 0.05 sec.,

    T4: Max. 4 sec., T5: Min. 4 sec.

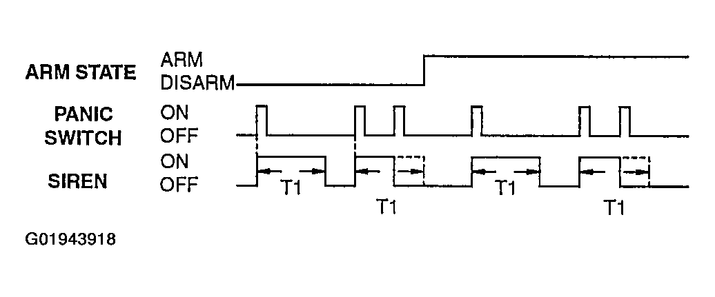
  15. Panic alarm 
    Fig 15: Panic Alarm Timing Chart
    G01943918Courtesy of HYUNDAI MOTOR CO.

    Time specification

    T1: 30+/-1 sec