LEMON Manuals: Even more car manuals for everyone: 1960-2025
Home >> Hyundai >> 2004 >> Santa Fe L4-2.4L >> Repair and Diagnosis >> Relays and Modules >> Relays and Modules - Powertrain Management >> Relays and Modules - Computers and Control Systems >> Body Control Module >> Testing and Inspection >> Initial Inspection and Diagnostic Overview
April 5, 2026: LEMON Manuals is launched! Read the announcement.

Initial Inspection and Diagnostic Overview

INSPECTION
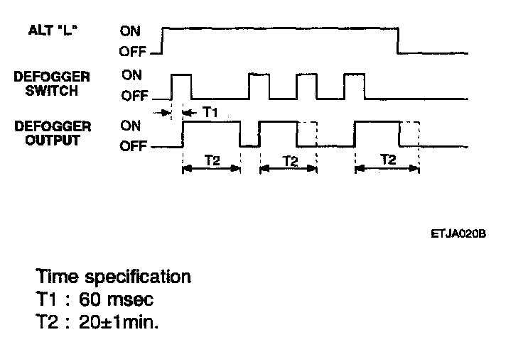
While operating the components, check whether the operations are normal with timing chart.

ETACS FUNCTION




1. Vehicle speed sensing intermittent wiper




2. Washer




3. Rear window defogger




4. Seat belt warning




5. Ignition key hole illumination




6. Key operated warning




7. Decayed out room lamp




8. Ignition key reminder




9. Tail lamp auto cut




10. Power window timer




11. Central door lock/unlock




12. Crash door unlock




13. Parking start warning




14. TX lock two times function




15. Panic alarm