LEMON Manuals: Even more car manuals for everyone: 1960-2025
Home >> Hyundai >> 2004 >> Santa Fe LX, AWD >> Repair and Diagnosis >> Engine Performance >> Engine Control Systems >> Fuel System (3.5L) >> MFI Control System >> Throttle Body >> Initialization Of Throttle Body For ETS
April 5, 2026: LEMON Manuals is launched! Read the announcement.

Initialization Of Throttle Body For ETS

  1. Electric Throttle Control (ETC) motor needs initializing after the works below.
    1. Vehicle line OFF.
    2. Replacement of ETS motor.
    3. Replacement of ETS ECM.
    CAUTION: When replacing ETS motor and ECM, it's needed to erase the self-diagnosis data in the ETS ECM and then perform initialization.
  2. Conditions for initializing ETS throttle body.
    1. IG SW OFF
    2. ETS relay ON (In normal communication)
    3. TPS 1 (main): Closed throttle voltage adoption completed.
    4. TPS 2 (sub): Closed throttle voltage adoption completed.
    5. TPS 1 is not open circuit or short circuit.
    6. Throttle position feedback is normal.
    7. Motor is normal.
    8. Motor power is normal.
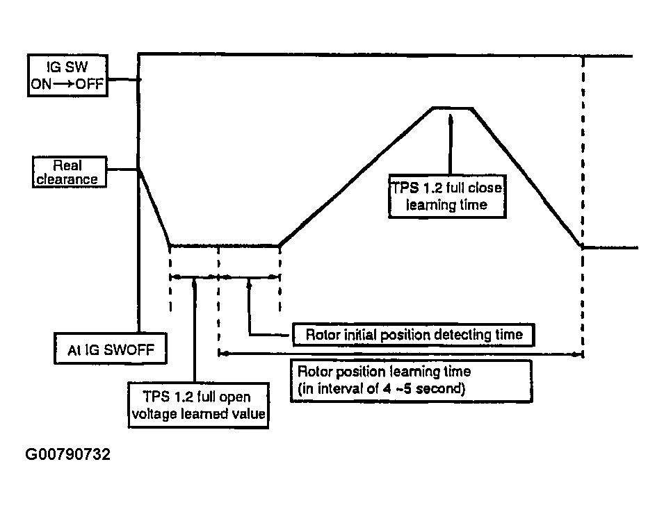
    Fig 1: Conditions For Initializing ETS Throttle Body
    G00790732Courtesy of HYUNDAI MOTOR CO.
  3. Method of initialization
    1. Turn IG KEY ON (below 1 second) (Do not start engine)
    2. Turn IG KEY OFF and keep the state (approx. 10s) until the control relay is turned OFF.
    3. Turn IG KEY SW ON (maintaining 1 second) again to record the rotor position adoption value on EPROM and the initialization operating is finished.
    4. The completion of initialization is verified by operating accelerator with engine running or IG KEY SW ON to check the throttle valve for moving.
    5. After initialization is finished once, it's no more needed when removing the terminal of battery. (i.e., the data on EPROM is read to control the motor)