LEMON Manuals: Even more car manuals for everyone: 1960-2025
Home >> Hyundai >> 2004 >> Tiburon Base, Automatic >> Repair and Diagnosis >> Engine Performance >> Engine Control Systems >> Fuel System (2.0L) >> DTC Troubleshooting Procedures >> DTC P0451: EVAP Emission Control System Pressure Sensor Range/Performance Problem >> Schematic Diagram
April 5, 2026: LEMON Manuals is launched! Read the announcement.

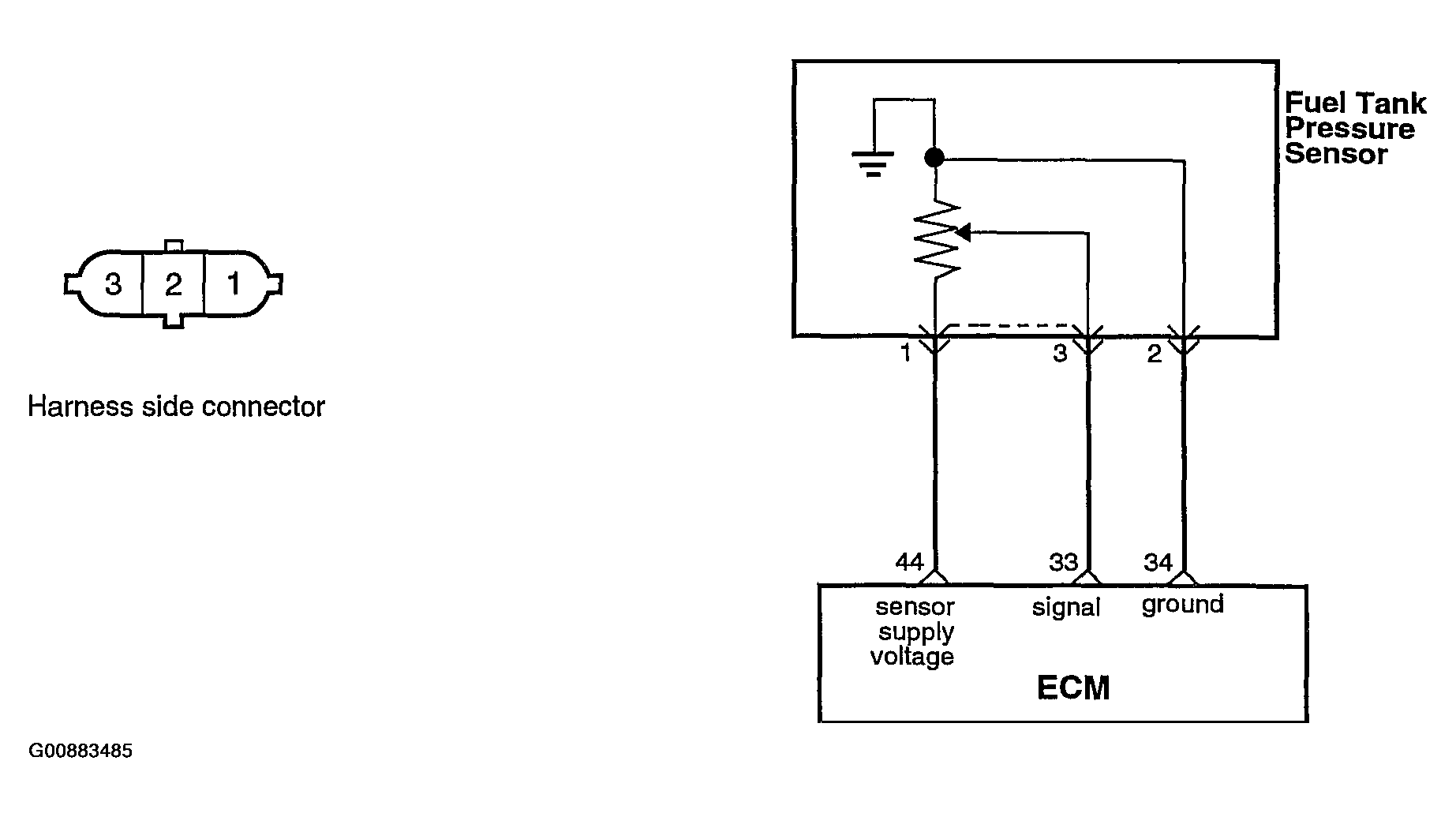
Schematic Diagram

Fig 1: Schematic Diagram
G00883485Courtesy of HYUNDAI MOTOR CO.