LEMON Manuals: Even more car manuals for everyone: 1960-2025
Home >> Hyundai >> 2004 >> Tiburon GT, Automatic >> Repair and Diagnosis >> Engine Performance >> Engine Control Systems >> Fuel System (2.7L) >> DTC Troubleshooting Procedures >> Siemens Ems >> DTC P0032: O2 Sensor Heater Circuit High Input (Bank 1, Sensor 1) >> Inspection Procedures
April 5, 2026: LEMON Manuals is launched! Read the announcement.

Inspection Procedures

  1. CHECK HO2S AND ECM CONNECTORS 
    1. Check connectors for poor connection, misplaced, bent, loose or corroded terminals.

    Are both connectors good? 

    Yes: Go to next step.

    No: Repair or replace it.

  2. CHECK HO2S HEATER RESISTANCE 
    1. Turn ignition switch to OFF and disconnect HO2S connector.
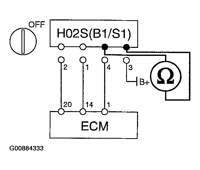
    2. Measure resistance between the terminals 3 and 4 of HO2S connector.
    Fig 1: Measuring Resistance Between Terminals 3 & 4 Of HO2S Connector
    G00884333Courtesy of HYUNDAI MOTOR CO.
    • 3 ~ 4 Ω at between 18°C and 28°C (64°F ~ 82°F) 

    Is resistance within specification? 

    Yes: Go to next step.

    No: Replace HO2S.

  3. CHECK POWER TO HO2S HEATER 
    1. Turn ignition switch to ON.
    2. Measure voltage between the terminal 3 of HO2S harness connector and chassis ground.
    Fig 2: Measuring Voltage Between Terminal 3 Of HO2S Harness Connector & Chassis Ground
    G00884334Courtesy of HYUNDAI MOTOR CO.
    • Specification: approximately B+ 

    Is voltage within specification? 

    Yes: Go to next step.

    No: Repair open or short to chassis ground in harness.

  4. CHECK FOR SHORT TO POWER IN HARNESS 
    1. Turn ignition switch to OFF.
    2. Disconnect ECM connector.
    3. Turn ignition switch to ON.
    4. Measure voltage between the terminal 4 of HO2S harness connector and chassis ground.
    Fig 3: Measuring Voltage Between Terminal 4 Of HO2S Harness Connector & Chassis Ground
    G00884335Courtesy of HYUNDAI MOTOR CO.
    • Specification: below 0.5V 

    Is voltage within specification? 

    Yes: Go to next step.

    No: Repair short to power in harness.

  5. CHECK FOR OPEN IN HARNESS 
    1. Turn ignition switch to OFF.
    2. Measure resistance between the terminals 4 of HO2S harness connector and 1 of ECM harness connector C133-2.
    Fig 4: Measuring Resistance Between Terminals 4 Of HO2S Harness Connector & 1 Of ECM Harness Connector C133-2
    G00884336Courtesy of HYUNDAI MOTOR CO.
    • Specification: below 1Ω 

    Does resistance indicate continuity? 

    Yes: Proceed with ECM PROBLEM PROCEDURE .

    No: Repair open in harness.