LEMON Manuals: Even more car manuals for everyone: 1960-2025
Home >> Hyundai >> 2004 >> Tiburon GT, Automatic >> Repair and Diagnosis >> Engine Performance >> Engine Control Systems >> Fuel System (2.7L) >> DTC Troubleshooting Procedures >> Siemens Ems >> DTC P0050: O2 Sensor Heater Control Circuit (Bank 2, Sensor 1) >> Schematic Diagram
April 5, 2026: LEMON Manuals is launched! Read the announcement.

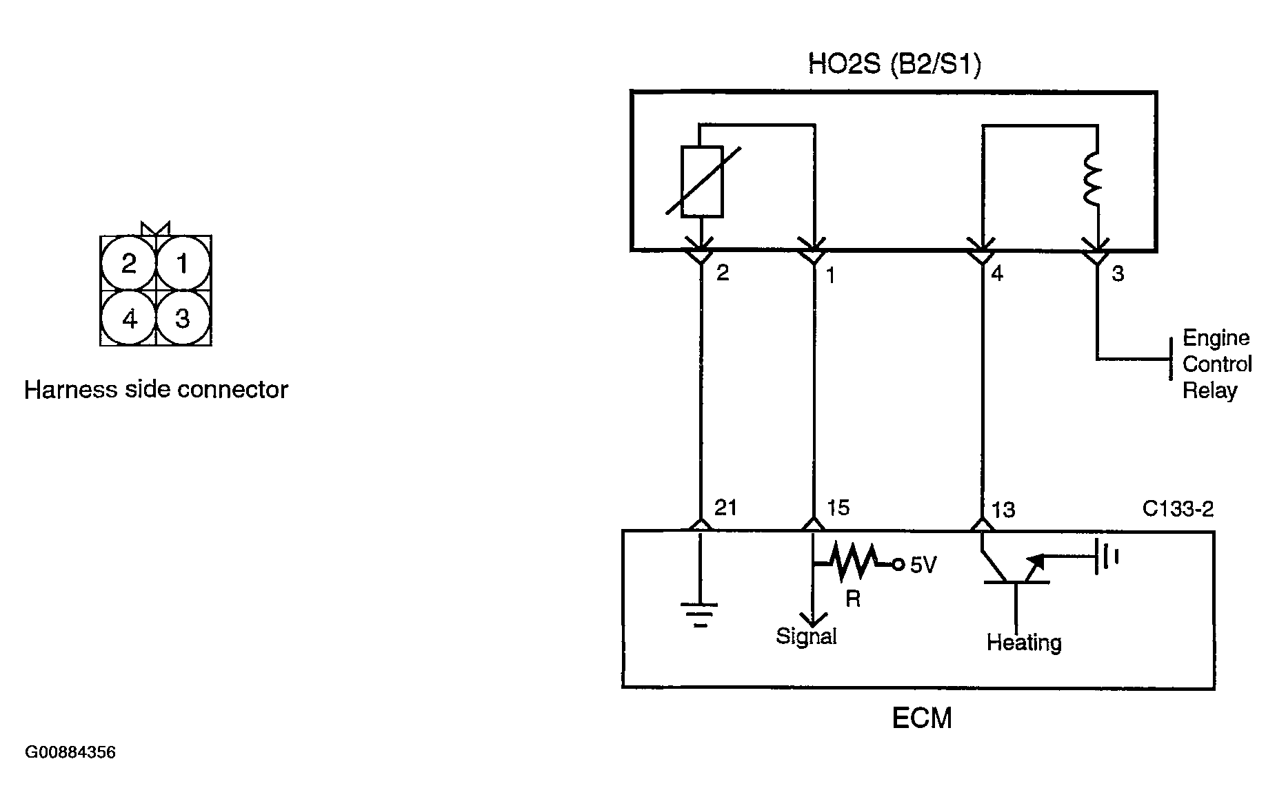
Schematic Diagram

Fig 1: Schematic Diagram
G00884356Courtesy of HYUNDAI MOTOR CO.