LEMON Manuals: Even more car manuals for everyone: 1960-2025
Home >> Hyundai >> 2004 >> XG350 Base >> Repair and Diagnosis (Single Page) >> Engine Performance >> Engine Control Systems >> Fuel System >> MFI Control System >> Power Steering Pressure (PSP) Switch >> Circuit Diagram
April 5, 2026: LEMON Manuals is launched! Read the announcement.

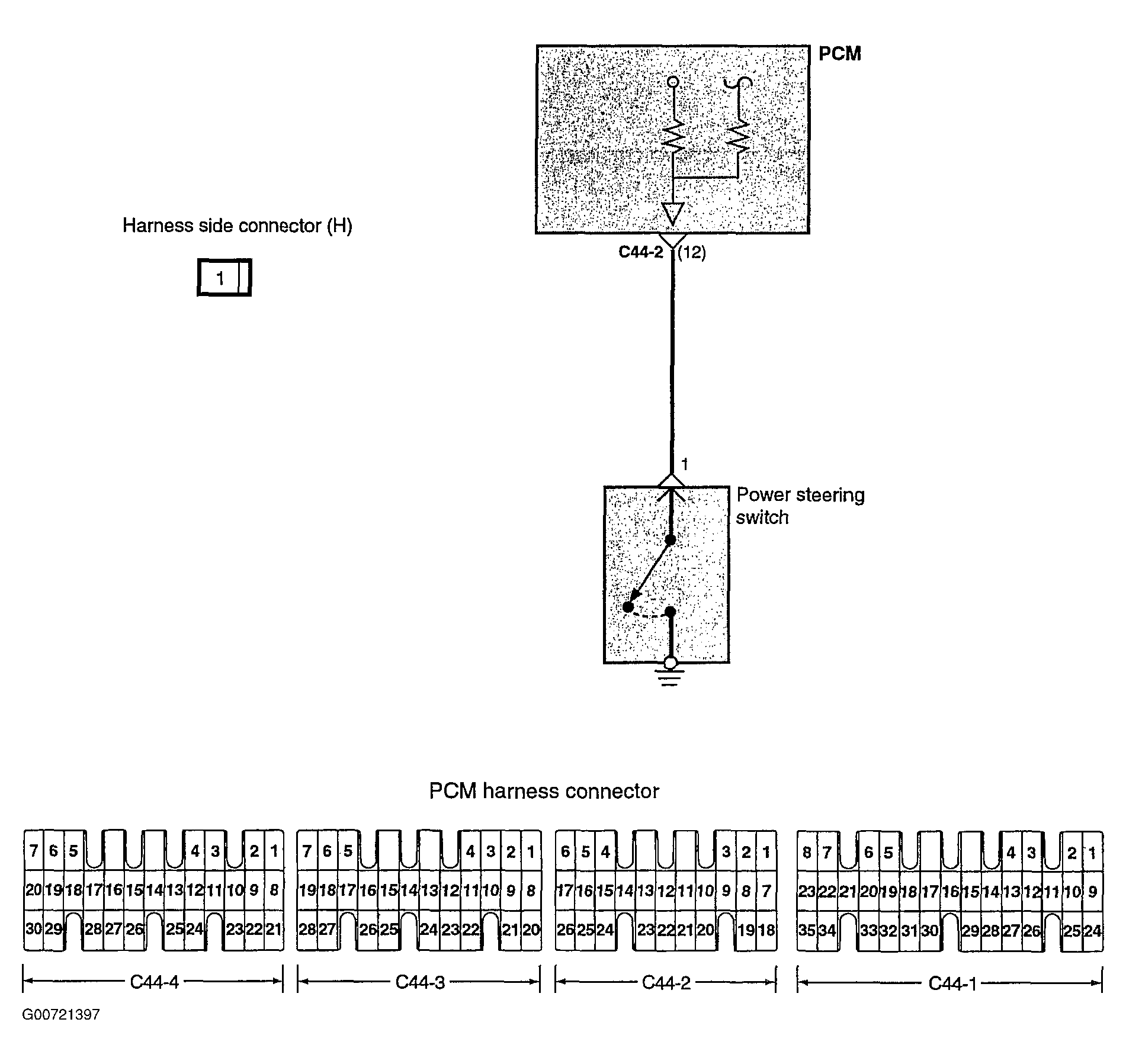
Circuit Diagram

Fig 1: Locating PSP Switch
G00721396Courtesy of HYUNDAI MOTOR CO.
Fig 2: PSP Circuit Diagram
G00721397Courtesy of HYUNDAI MOTOR CO.