LEMON Manuals: Even more car manuals for everyone: 1960-2025
Home >> Hyundai >> 2005 >> Elantra GLS, 4D Hatchback, Standard >> Repair and Diagnosis >> Engine Performance >> Engine Control Systems >> Fuel System >> Accelerator Pedal >> Installation
April 5, 2026: LEMON Manuals is launched! Read the announcement.

Accelerator Pedal: Installation

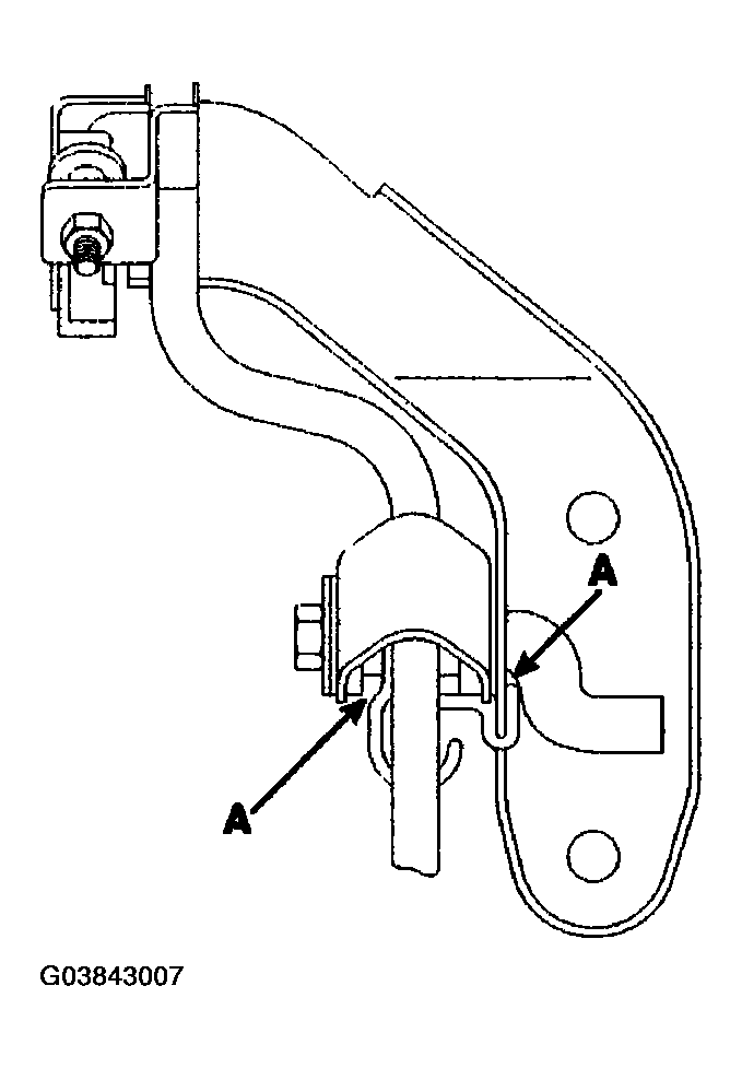
  1. When installing the return spring and accelerator pedal, apply multi-purpose grease around each moving point (A) of the accelerator pedal.
    Fig 1: Installing Return Spring And Accelerator Pedal
    G03843007Courtesy of HYUNDAI MOTOR CO.
  2. Apply sealant to the bolt mounting holes(A), and tighten the accelerator pedal bracket.

    Tightening torque 

    Accelerator pedal bracket bolts:

    8 ~ 12Nm (0.8 ~ 1.2 kgf.m, 5.8 ~ 7.2 lbf.ft)

    Fig 2: Identifying Accelerator Pedal Bracket Bolts
    G03843008Courtesy of HYUNDAI MOTOR CO.
  3. Securely install the resin bushing of the accelerator cable on the end of the accelerator pedal.
  4. Apply multipurpose grease around the cable end (A)
    Fig 3: Applying Multipurpose Grease Around Cable End
    G03843009Courtesy of HYUNDAI MOTOR CO.