LEMON Manuals: Even more car manuals for everyone: 1960-2025
Home >> Hyundai >> 2005 >> Santa Fe V6-2.7L >> Repair and Diagnosis >> Powertrain Management >> Computers and Control Systems >> Air Flow Meter/Sensor >> Testing and Inspection
April 5, 2026: LEMON Manuals is launched! Read the announcement.

Air Flow Meter/Sensor: Testing and Inspection

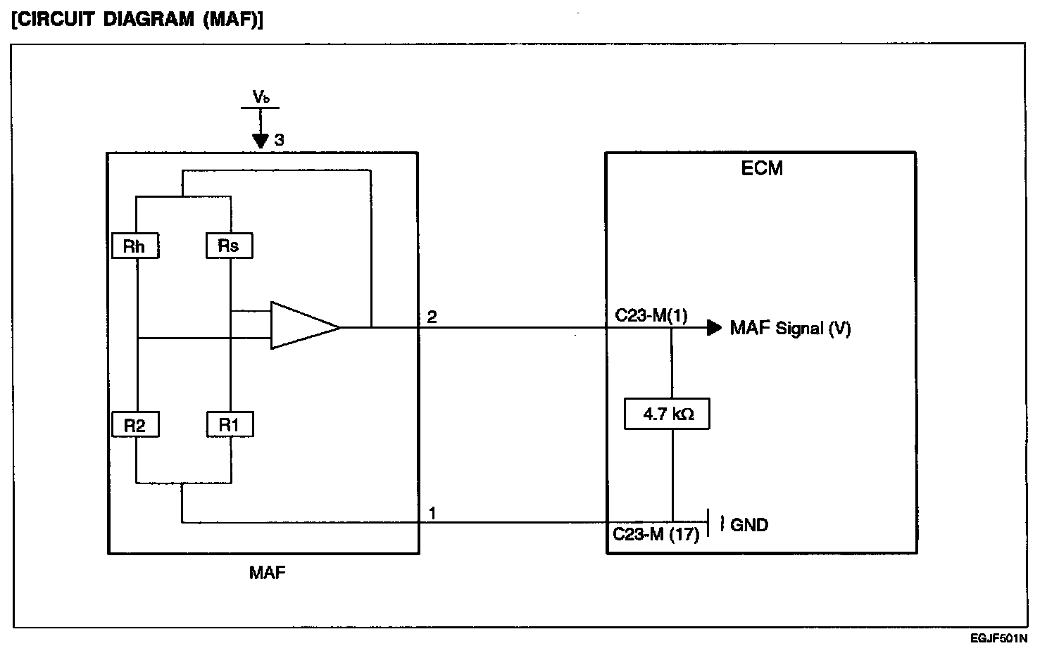
MASS AIR FLOW (MAF) SENSOR




This hot film type Mass Air Flow (MAF) Sensor is composed of a hot film sensor, housing and metering duct (hybrid sensor element). Mass air flow rate is measured by detection of heat transfer from a hot film probe because the change of the mass air flow rate causes a change in the amount of heat being transferred from the hot film probe surface to the air flow. The mass air flow sensor generates a pulse so it repeatedly opens and closes between the 5 V voltage supplied from the ECM.

This results in the change of the temperature of the hot film probe and in the change of resistance.

Circuit Diagram (MAF):




CIRCUIT DIAGRAM

Harness Connector:




HARNESS CONNECTOR

Characteristic Of MAF:




CHARACTERISTIC OF MAF

Output Voltage Of MAF Part 1:




Output Voltage Of MAF Part 2:







OUTPUT VOLTAGE OF MAF

Troubleshooting Procedures (MAF):




TROUBLESHOOTING PROCEDURES (MAF)

Harness Inspection Procedures (MAF):




HARNESS INSPECTION PROCEDURES (MAF)