LEMON Manuals: Even more car manuals for everyone: 1960-2025
Home >> Hyundai >> 2005 >> Sonata GLS >> Repair and Diagnosis >> Engine Performance >> Engine Control Systems >> Fuel System (G6BA-GSL 2.7L) >> General >> Basic Troubleshooting >> Basic Inspection Procedure >> Electrical Circuit Inspection Procedure >> Check Open Circuit
April 5, 2026: LEMON Manuals is launched! Read the announcement.

Check Open Circuit

  1. Procedures for Open Circuit
    • Continuity Check
    • Voltage Check

    If an open circuit occurs (as seen in Fig 1), it can be found by performing Step 2 (Continuity Check Method) or Step 3 (Voltage Check Method) as shown below.

    Fig 1: Identifying Open Circuit Checking Method
    G03857606Courtesy of HYUNDAI MOTOR CO.
  2. Continuity Check Method
    NOTE: When measuring for resistance, lightly shake the wire harness above and below or from side to side.

    Specification (Resistance)

    1Ω or less --> Normal Circuit

    1 MΩ or Higher --> Open Circuit

    1. Disconnect connectors (A), (C) and measure resistance between connector (A) and (C) as shown in Fig 2.

      In Fig 2 the measured resistance of line 1 and 2 is higher than 1 MΩ and below 1 Ω respectively. Specifically the open circuit is line 1 (Line 2 is normal). To find exact break point, check sub line of line 1 as described in next step.

      Fig 2: Measuring Resistance Between Connector (A) And (C)
      G03857607Courtesy of HYUNDAI MOTOR CO.
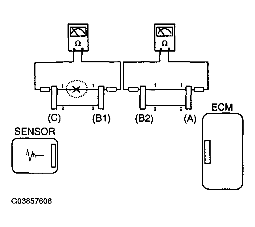
    2. Disconnect connector (B), and measure for resistance between connector (C) and (B1) and between (B2) and (A) as shown in Fig 3.

      In this case the measured resistance between connector (C) and (B1) is higher than 1 MΩ and the open circuit is between terminal 1 of connector (C) and terminal 1 of connector (B1).

    Fig 3: Measuring Resistance Between Connector (C) Or (B1) And Between (B2) Or (A)
    G03857608Courtesy of HYUNDAI MOTOR CO.
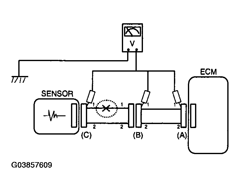
  3. Voltage Check Method
    1. With each connector still connected, measure the voltage between the chassis ground and terminal 1 of each connectors (A), (B) and (C) as shown in Fig 4.

      The measured voltage of each connector is 5V, 5V and 0V respectively. So the open circuit is between connector (C) and (B).

      Fig 4: Measuring Voltage Of Each Connector
      G03857609Courtesy of HYUNDAI MOTOR CO.