LEMON Manuals: Even more car manuals for everyone: 1960-2025
Home >> Hyundai >> 2006 >> Santa Fe Limited, AWD >> Repair and Diagnosis >> Engine Performance >> Engine Control Systems >> Fuel System (G6CU-GSL 3.5) >> Gasoline Engine Control System >> Canister Close Valve >> Notes
April 5, 2026: LEMON Manuals is launched! Read the announcement.

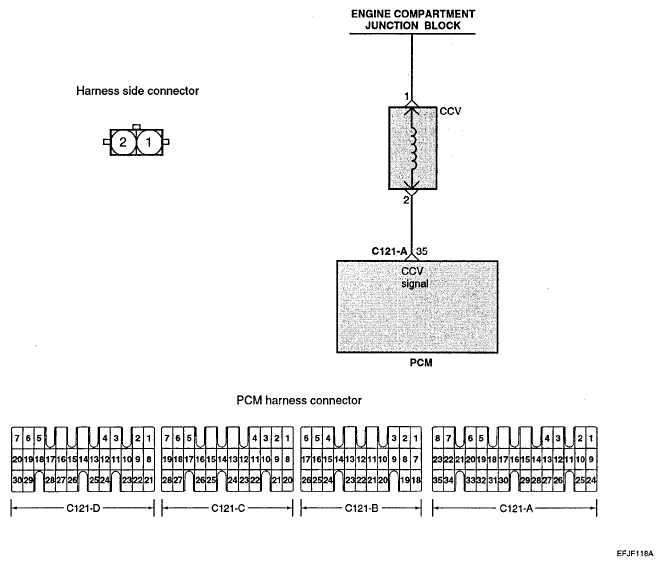
Canister Close Valve: Notes

The Canister Close Valve (CCV) is for monitoring of evaporative leakage detection.

While the leakage monitoring is operated, the CCV becomes closed but it is normally open.

Fig 1: Identifying Canister Close Valve
G04931617Courtesy of HYUNDAI MOTOR CO.