LEMON Manuals: Even more car manuals for everyone: 1960-2025
Home >> Hyundai >> 2006 >> Santa Fe Limited, AWD >> Repair and Diagnosis >> Engine Performance >> Engine Control Systems >> Fuel System (G6CU-GSL 3.5) >> Gasoline Engine Control System >> Power Steering Pressure (PSP) Switch >> Notes
April 5, 2026: LEMON Manuals is launched! Read the announcement.

Power Steering Pressure (PSP) Switch: Notes

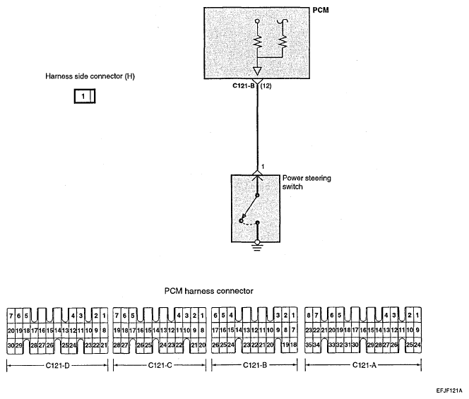
The power steering oil pressure switch senses the power steering load and inputs it to PCM, which then adjusts the idle speed control motor to maintain idle speed when the power steering pump puts a load on the engine.

Fig 1: Identifying Power Steering Pressure Switch
G04931569Courtesy of HYUNDAI MOTOR CO.