LEMON Manuals: Even more car manuals for everyone: 1960-2025
Home >> Hyundai >> 2007 >> Entourage GLS >> Repair and Diagnosis (Single Page) >> Accessories & Equipment >> Communication Devices >> BCM (Body Control Module) >> BCM (Body Control Module) >> DTC B2119 Windshield Defog Relay Failure >> Power Supply Circuit Inspection
April 5, 2026: LEMON Manuals is launched! Read the announcement.

Power Supply Circuit Inspection

  1. Check open in power circuit
    1. Ignition "ON" & engine "OFF".
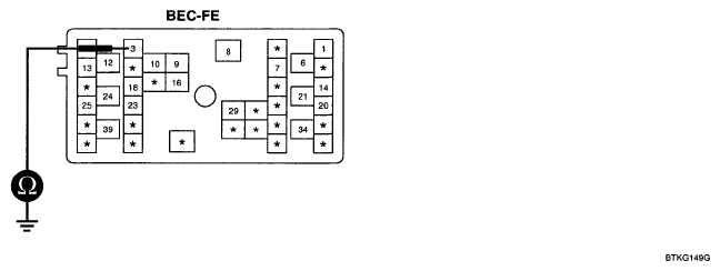
    2. Measure the resistance between wind shield defogger power circuit of FAM (BEC-FE-3) and wind shield defogger (E04-2).

      Specification : 0 Ω

      Fig 1: Measuring Resistance Between Wind Shield Defogger Power Circuit Of FAM And Wind Shield Defogger
      G05325021Courtesy of HYUNDAI MOTOR CO.
    3. Is the measured resistance within the specification?

      YES 

      Go to " 2Check short in power circuit".

      NO 

      Repair open in power circuit and go to "VERIFICATION OF VEHICLE REPAIR ".

  2. Check short in power circuit
    1. Ignition "ON" & engine "OFF".
    2. Disconnect wind shield defogger.
    3. Measure the resistance between wind shield defogger power circuit of FAM (BEC-FE-3) and chassis ground.

      Specification : ∞ Ω

      Fig 2: Measuring Resistance Between Wind Shield Defogger Power Circuit Of FAM And Chassis Ground
      G05325022Courtesy of HYUNDAI MOTOR CO.
    4. Is the measured resistance within the specification?

      YES 

      Go to "GROUND CIRCUIT INSPECTION ".

      NO 

      Repair open in power circuit and go to "VERIFICATION OF VEHICLE REPAIR ".