LEMON Manuals: Even more car manuals for everyone: 1960-2025
Home >> Hyundai >> 2007 >> Entourage GLS >> Repair and Diagnosis >> Engine Performance >> Engine Control Systems >> Fuel System (G6DA - GSL 3.8) >> Fuel Delivery System >> Fuel Pressure Test
April 5, 2026: LEMON Manuals is launched! Read the announcement.

Fuel Pressure Test

  1. PREPARING 
    1. Remove the 2nd seat (s)

      (Refer to REAR SEAT ).

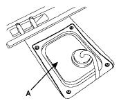
    2. Remove the Service Cover (A).
    Fig 1: Identifying Service Cover
    G05322251Courtesy of HYUNDAI MOTOR CO.
  2. RELEASE THE INTERNAL PRESSURE 
    1. Disconnect the fuel pump connector (A).
    2. Start the engine and wait until fuel in fuel line is exhausted.
    3. After the engine stalls, turn the ignition switch to OFF position and disconnect the negative (-) terminal from the battery.
      NOTE: Be sure to reduce the fuel pressure before disconnecting the fuel feed hose, otherwise fuel will spill out.
    Fig 2: Identifying Fuel Pump Connector
    G05322252Courtesy of HYUNDAI MOTOR CO.
  3. INSTALL THE SPECIAL SERVICE TOOL (SST) FOR MEASURING THE FUEL PRESSURE 
    1. Disconnect the fuel feed hose from the delivery pipe.
      CAUTION: Cover the hose connection with a shop towel to prevent splashing of fuel caused by residual pressure in the fuel line.
    2. Install the Fuel Pressure Gauge Adapter (09353-38000) between the delivery pipe and the fuel feed hose.
    3. Connect the Fuel Pressure Gauge Connector (09353-24000) to the Fuel Pressure Gauge Adapter (09353-38000)
    4. Connect the Fuel Pressure Gauge and Hose (09353-24100) to Fuel Pressure Gauge Connector (09353-24000).
    5. Connect the fuel feed hose to the Fuel Pressure Gauge Adapter (09353-38000).
    Fig 3: Identifying Fuel Pressure Gauge And Hose
    G05322253Courtesy of HYUNDAI MOTOR CO.
  4. INSPECT FUEL LEAKAGE ON CONNECTION 
    1. Connect the battery negative (-) terminal.
    2. Apply battery voltage to the fuel pump terminal and activate the fuel pump. With fuel pressure applied, check that there is no fuel leakage from the fuel pressure gauge or connection part.
  5. FUEL PRESSURE TEST 
    Fig 4: Fuel Pressure Test Reference Chart
    G05322254Courtesy of HYUNDAI MOTOR CO.
  6. RELEASE THE INTERNAL PRESSURE 
    1. Disconnect the fuel pump connector (A).
    2. Start the engine and wait until fuel in fuel line is exhausted.
    3. After the engine stalls, turn the ignition switch to OFF position and disconnect the negative (-) terminal from the battery.
      NOTE: Be sure to reduce the fuel pressure before disconnecting the fuel feed hose, otherwise fuel will spill out.
      Fig 5: Identifying Fuel Pump Connector
      G05322255Courtesy of HYUNDAI MOTOR CO.
  7. REMOVE THE SPECIAL SERVICE TOOL (SST) AND CONNECT THE FUEL LINE 
    1. Disconnect the Fuel Pressure Gauge and Hose (09353-24100) from the Fuel Pressure Gauge Connector (09353-24000).
    2. Disconnect the Fuel Pressure Gauge Connector (09353-24000) from the Fuel Pressure Gauge Adapter (09353-38000).
    3. Disconnect the fuel feed hose from the Fuel Pressure Gauge Adapter (09353-38000).
    4. Disconnect the Fuel Pressure Gauge Adapter (09353-38000) from the delivery pipe.
      CAUTION: Cover the hose connection with a shop towel to prevent splashing of fuel caused by residual pressure in the fuel line.
    5. Connect the fuel feed hose to the delivery pipe.
  8. INSPECT FUEL LEAKAGE ON CONNECTION 
    1. Connect the battery negative (-) terminal.
    2. Apply battery voltage to the fuel pump terminal and activate the fuel pump. With fuel pressure applied, check that there is no fuel leakage from the fuel pressure gauge or connection part.
    3. If the vehicle is normal, connect the fuel pump connector.