LEMON Manuals: Even more car manuals for everyone: 1960-2025
Home >> Hyundai >> 2007 >> Santa Fe AWD V6-2.7L >> Repair and Diagnosis >> Heating and Air Conditioning >> Solar Sensor >> Service and Repair
April 5, 2026: LEMON Manuals is launched! Read the announcement.

Solar Sensor: Service and Repair

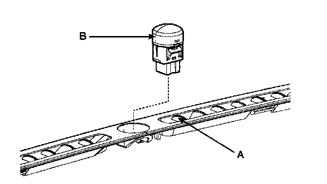
PHOTO SENSOR

REPLACEMENT
1. Disconnect the negative (-) battery terminal.




2. With the (-) driver, remove the photo sensor (B) from the center of defrost nozzle (A).
3. Install in the reverse order of removal.