LEMON Manuals: Even more car manuals for everyone: 1960-2025
Home >> Hyundai >> 2007 >> Santa Fe AWD V6-2.7L >> Repair and Diagnosis >> Powertrain Management >> Computers and Control Systems >> Body Control Module >> Locations >> Windshield Deicer
April 5, 2026: LEMON Manuals is launched! Read the announcement.

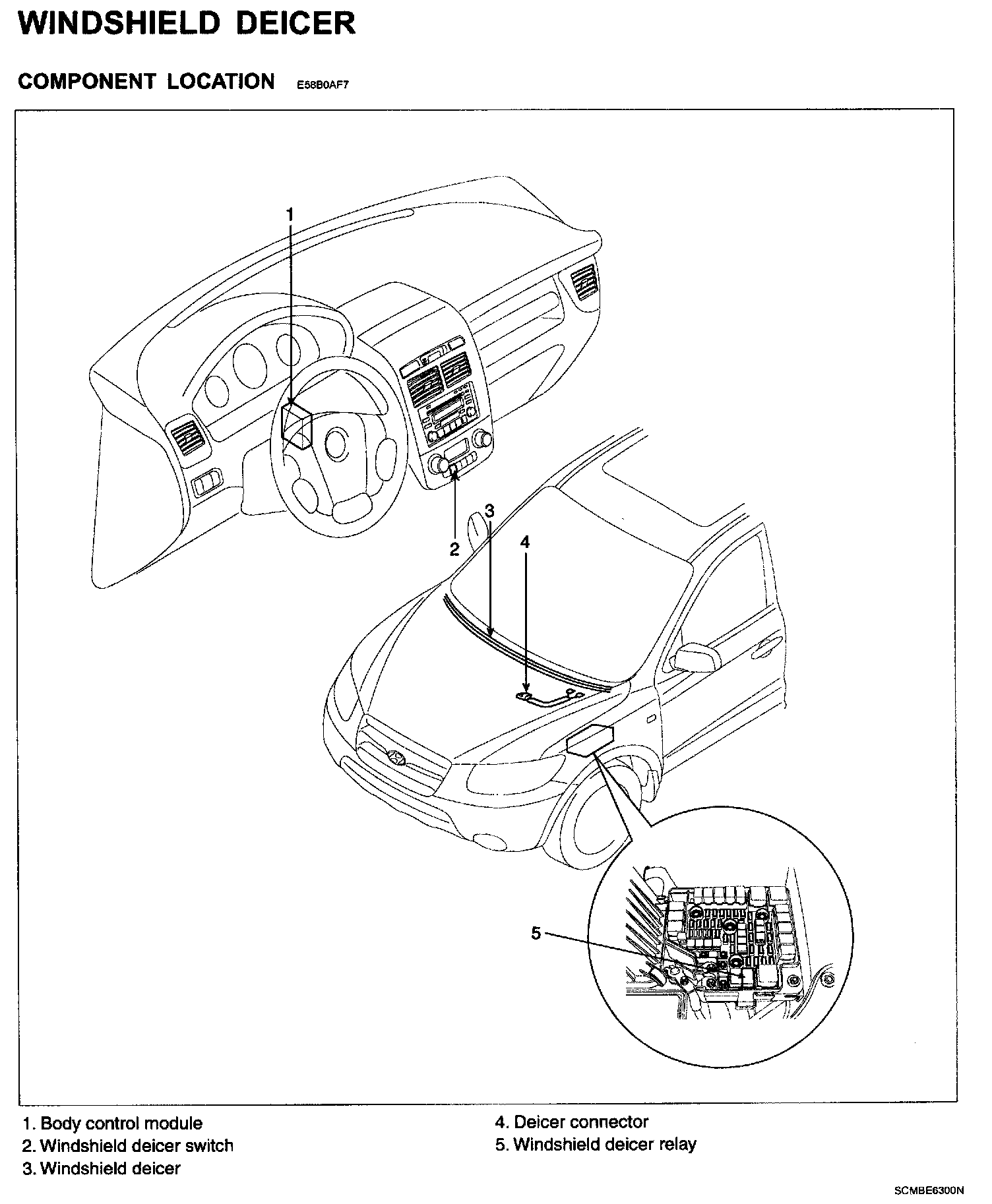
Windshield Deicer

Windshield Deicer - Component Location: