LEMON Manuals: Even more car manuals for everyone: 1960-2025
Home >> Hyundai >> 2007 >> Santa Fe AWD V6-3.3L >> Repair and Diagnosis >> Specifications >> Mechanical Specifications >> Engine >> Cylinder Block Assembly >> System Specifications
April 5, 2026: LEMON Manuals is launched! Read the announcement.

System Specifications

Cylinder block
Flatness of cylinder block gasket surface
Standard Less than 0.05mm(0.0020 in.), Less than 0.02mm(0.0008in.) / 150 x 150
cylinder bore diameter
Standard diameter 92.00-92.03mm (3.6220-3.6232in.)
Piston-to-cylinder clearance 0.02-0.04mm(0.0008-0.0016in.)

Crankshaft
Standard end play 0.10-0.28mm (0.0039-0.0110in.)
Main journal diameter 68.942-68.960mm (2.7142 2.7149in.)
Crank pin diameter 54.954-54.972mm (2.1635 2.1642in.)
Standard oil clearance 0.022-0.040mm (0.0009-0.0016in.)

DISCRIMINATION OF CRANKSHAFT:





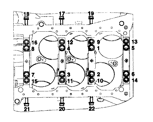
Main bearing cap inner bolt(M11) 49.00 Nm (5.0 kgf.m, 36.16 lb-ft) + 90 degrees
Main bearing Gap outer bolt(M8) 19.60 Nm (2.0 kgf.m, 14.46 lb-ft) + 120 degrees
Main bearing cap side bolt(M8) 29.40-31.36 Nm (3.0-3.2 kgf.m, 21.70-23.14 ft. lbs.)





Connecting rods
Standard end play 0.1-0.25mm (0.004-0.010in.)
Standard oil clearance 0.030-0.048mm(0.0012-0.0019in.)
Allowable bend 0.05mm / 100mm (0.0020 in./3.94 in.) or less
Allowable twist 0.1mm / 100mm (0.0039 in./3.94 in.) or less

Piston outside diameter
Standard diameter 91.97-92.00mm (3.6209-3.6220in.)

Piston ring side clearance
Standard
No. 1 0.04-0.078mm (0.0016-0.0031 in.)
No.2 0.03-0.07mm (0.0012-0.0027in.)
Oil ring 0.06-0.15mm (0.0024-0.0059in.)
Limit
No. 1 0.1mm (0.004in.)
No.2 0.1mm (0.004in.)
Oil ring 0.2mm (0.008in.)

Piston ring end gap
Standard
No. 1 0.17-0.32mm (0.0067-0.0126in.)
No.2 0.32-0.47mm (0.0126-0.0185in.)
Oil ring 0.20-0.70mm (0.0079-0.0275in.)
Limit
No.1 0.6mm (0.0236in.)
No.2 0.7mm (0.0275in.)
Oil ring 0.8mm (0.0315in.)

Crankshaft pulley bolt 284.2-303.8 Nm (29.0-31.0 kgf.m, 209.76-224.22 ft. lbs.)