LEMON Manuals: Even more car manuals for everyone: 1960-2025
Home >> Hyundai >> 2007 >> Santa Fe SE, AWD >> Repair and Diagnosis >> Engine Performance >> Engine Control Systems >> Fuel System (G6DA-GSL 3.3) >> Gasoline Engine Control System >> Accelerator Position Sensor (APS) >> Inspection >> Function And Operation Principle
April 5, 2026: LEMON Manuals is launched! Read the announcement.

Function And Operation Principle

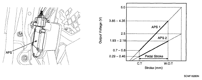
Fig 1: Identifying Accelerator Position Sensor
G05349467Courtesy of HYUNDAI MOTOR CO.

Accelerator Position Sensor (APS) is installed on the accelerator pedal module and detects the rotation angle of the accelerator pedal. The APS is one of the most important sensors in engine control system, so it consists of the two sensors which adapt individual sensor power and ground line. The second sensor monitors the first sensor and its output voltage is half of the first one. If the ratio of the sensor 1 and 2 is out of the range (approximately 1/2), the diagnostic system judges that a malfunction has occurred.