LEMON Manuals: Even more car manuals for everyone: 1960-2025
Home >> Hyundai >> 2007 >> Santa Fe SE, AWD >> Repair and Diagnosis >> Engine Performance >> Engine Control Systems >> Fuel System (G6DA-GSL 3.3) >> Gasoline Engine Control System >> CVVT Oil Temperature Sensor (OTS) >> Inspection >> Schematic Diagram
April 5, 2026: LEMON Manuals is launched! Read the announcement.

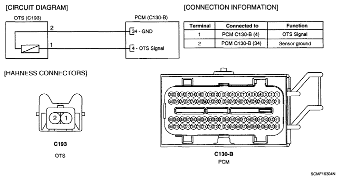
Schematic Diagram

Fig 1: Identifying CVVT Oil Temperature Sensor
G04884255Courtesy of HYUNDAI MOTOR CO.
Fig 2: CVVT Oil Temperature Sensor - Schematic Diagram
G05349461Courtesy of HYUNDAI MOTOR CO.