LEMON Manuals: Even more car manuals for everyone: 1960-2025
Home >> Hyundai >> 2007 >> Tiburon GS, Standard >> Repair and Diagnosis >> Engine Performance >> Engine Control Systems >> Fuel System (G4GC-GSL 2.0L) >> Basic Troubleshooting >> Basic Inspection Procedure >> Electrical Circuit Inspection Procedure >> Check Open Circuit
April 5, 2026: LEMON Manuals is launched! Read the announcement.

Check Open Circuit

  1. Procedures for Open Circuit
    • Continuity Check
    • Voltage Check

    If an open circuit occurs (as seen in Fig 1), it can be found by performing Step  2 (Continuity Check Method) or Step  3 (Voltage Check Method) as shown below.

    Fig 1: Identifying Open Circuit
    G03849112Courtesy of HYUNDAI MOTOR CO.
  2. Continuity Check Method
    NOTE: When measuring for resistance, lightly shake the wire harness above and below or from side to side.

    Specification (Resistance)

    1Ω or less --> Normal Circuit

    1 or Higher --> Open Circuit

    1. Disconnect connectors (A), (C) and measure resistance between connector (A) and (C) as shown in [Fig 2].

      In [Fig 2.] the measured resistance of line 1 and 2 is higher than 1 and below 1 Ω respectively. Specifically the open circuit is line 1 (Line 2 is normal). To find exact break point, check sub line of line 1 as described in next step.

      Fig 2: Measuring Resistance Between Connector
      G03849113Courtesy of HYUNDAI MOTOR CO.
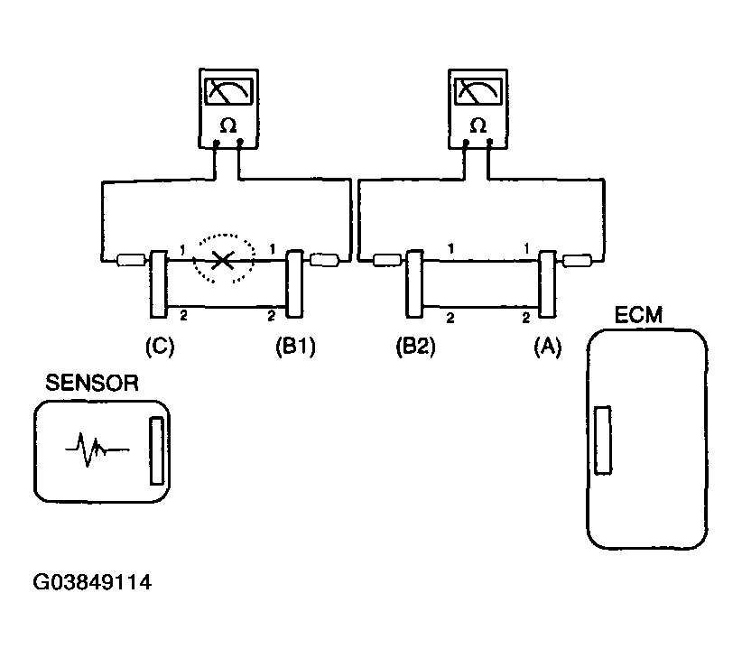
    2. Disconnect connector (B), and measure for resistance between connector (C) and (B1) and between (B2) and (A) as shown in [Fig 3].

      In this case the measured resistance between connector (C) and (B1) is higher than 1 and the open circuit is between terminal 1 of connector (C) and terminal 1 of connector (B1).

      Fig 3: Disconnecting Connector And Measuring For Resistance Between Connector (C) And (B1) And Between (B2) And (A)
      G03849114Courtesy of HYUNDAI MOTOR CO.
  3. Voltage Check Method
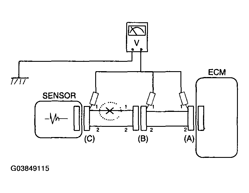
    1. With each connector still connected, measure the voltage between the chassis ground and terminal 1 of each connectors (A), (B) and (C) as shown in [Fig 4].

      The measured voltage of each connector is 5V, 5V and 0V respectively. So the open circuit is between connector (C) and (B).

      Fig 4: Measuring Voltage Between Chassis Ground And Terminal Of Each Connectors
      G03849115Courtesy of HYUNDAI MOTOR CO.