LEMON Manuals: Even more car manuals for everyone: 1960-2025
Home >> Hyundai >> 2008 >> Azera V6-3.3L >> Repair and Diagnosis >> Powertrain Management >> Relays and Modules - Powertrain Management >> Relays and Modules - Computers and Control Systems >> Body Control Module >> Service and Repair
April 5, 2026: LEMON Manuals is launched! Read the announcement.

Body Control Module: Service and Repair

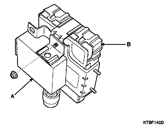
BODY CONTROL MODULE

REPLACEMENT
1. Disconnect the negative (-) battery terminal.
2. Remove the crash pad lower panel (A). Avoid damaging retaining clip.






3. Remove ICM relay connector and 2 nuts.






4. Remove the body control module (A) and tilt & telescope unit after loosening 2 nuts and disconnecting connector.






5. Remove the body control module (B) from the tilt & telescope unit (A) after loosening a bolt.






6. Installation is the reverse of removal.